- Your IDiyas USPTO weekly Patent trends and update
- Posts
- IDiyas Inventors Newsletter October 21, 2025
IDiyas Inventors Newsletter October 21, 2025
Whether it’s the words we type or the cars we drive, the biggest revolutions often begin quietly, by reimagining the things we thought we already knew.

For the Inventor. By the Inventor.
See this week's breakthrough USPTO patent grants!
Looking for unbiased, fact-based news? Join 1440 today.
Join over 4 million Americans who start their day with 1440 – your daily digest for unbiased, fact-centric news. From politics to sports, we cover it all by analyzing over 100 sources. Our concise, 5-minute read lands in your inbox each morning at no cost. Experience news without the noise; let 1440 help you make up your own mind. Sign up now and invite your friends and family to be part of the informed.
Table of Contents
This Week's Patent News:
🧬 Cellectis vs. Factor Bioscience: Gene-Editing IP Clash. Factor Bioscience sued Cellectis and AstraZeneca over TALEN gene-editing patents, threatening Allogene’s CAR T-cell therapy pipeline. The case underscores the fragility of biotech partnerships built on third-party IP.
🏃 Strava Sues Garmin Over Fitness Tech Patents. Strava filed a U.S. lawsuit against Garmin for alleged infringement of fitness tracking patents. The dispute could disrupt longstanding collaboration between the two companies.
🎧 Monster Energy Wins Trademark Appeal in Ninth Circuit. The Ninth Circuit reversed a lower court ruling, siding with Monster Energy in a trademark confusion case involving its non-beverage product line. The decision clarifies standards for consumer confusion in IP litigation.
☀️ Chint Wins Solar Patent Dispute at EPO. The European Patent Office revoked a key JingAo Solar patent, marking a victory for Chint in a long-running solar technology dispute. The decision could reshape competitive dynamics in the EU solar market.
🧠 Celonis Countersues SAP in Global Patent Battle. Celonis escalated its patent war with SAP by filing new suits in Munich, following reciprocal actions in the U.S. and Unified Patent Court. The conflict centers on process mining software IP.
New weekly USPTO Patents data have been added.
Top Inventors:
|
|
🧠 How Three Ukrainians Taught the Internet to Spell (and Got Rich Doing It)
The surprising story behind Grammarly, the AI writing coach that proofreads your emails, essays, and existential crises.In 2009, two Ukrainian entrepreneurs, Alex Shevchenko and Max Lytvyn, set out not to impress their English professors but to make writing just a little less embarrassing for the rest of us. Along with Dmytro Lider, they created Grammarly, not as a humble grammar checker but as a digital lifeguard for the world's drowning emails, essays, and DMs. | ![]() |
Launched initially as a tool for students to dodge plagiarism traps and comma crimes, Grammarly began as a subscription-based product for universities. But the founders soon realized that lousy grammar wasn’t limited to undergrads; it was an epidemic, infecting corporate boardrooms, dating apps, and even political tweets. So, in a move as strategic as it was syntactically sound, they went B2C.
Grammarly’s success was no accident. The company quietly scaled, letting users try its magical red squiggles for free while dangling premium features like a well-placed semicolon. Its tone detector, style enhancer, and increasingly pushy vocabulary upgrades turned it into the overachieving English teacher you never had but couldn’t live without.
Headquartered in San Francisco (because every tech fairy tale must have a bay breeze), Grammarly has helped over 30 million people write more clearly, if not more concisely. The irony? Its co-founders were not native English speakers. This proves that you don’t need to be born speaking perfect English; you need to build the algorithm that fixes everyone else’s.
After all, in a world where typos can tank deals, Grammarly makes sure your there is not a their or a they’re.
✍️ Want more stories of global innovators fixing your inbox one typo at a time?
Subscribe to IDiyas, the free newsletter where invention meets inspiration. No grammar police, just brilliant ideas (and maybe a better use of your semicolon).
Join Forty-three plus thousand curious minds who already get their weekly dose of inventive storytelling.
An espresso shot for your brain
The problem with most business news? It’s too long, too boring, and way too complicated.
Morning Brew fixes all three. In five minutes or less, you’ll catch up on the business, finance, and tech stories that actually matter—written with clarity and just enough humor to keep things interesting.
It’s quick. It’s free. And it’s how over 4 million professionals start their day. Signing up takes less than 15 seconds—and if you’d rather stick with dense, jargon-packed business news, you can always unsubscribe.
Trivia
Guess which one was patented first, and consider how it changed the world. Ready? Let’s go! 🧠 Ballpoint Pen vs. Zipper
Please scroll to the bottom of this newsletter to find out.
Featured Inventor
Martin Eberhard: The Reluctant Rocket Who Sparked Tesla
If electric vehicles had a patron saint, most people would point to Elon Musk. But under the hood of Tesla’s origin story, you’ll find Martin Eberhard, an engineer, inventor, and startup whisperer who quietly rewired the future of driving. Born in 1960 in Berkeley, California, and raised in the pre-silicon days of Silicon Valley, Eberhard earned his M.S. in electrical engineering from the University of Illinois Urbana-Champaign. He was the kind of kid who probably took apart radios for fun, and later turned that energy into startups. After co-founding NuvoMedia, which launched the Rocket eBook in 1998 (arguably Kindle’s nerdy granddad), he set his sights on something bigger: the car industry. | ![]() |
In 2003, frustrated by the lack of cool, high-performance EVs, Eberhard co-founded Tesla Motors with Marc Tarpenning. Their goal? Prove that electric cars didnt have to look like sad golf carts. The result: the Tesla Roadster, a lithium-ion-powered speedster that made EVs sexy, fast, and suddenly very real.
He served as CEO until 2007, before a very public shuffle ousted him and welcomed in Elon Musk’s turbocharged style. Still, without Eberhard’s early vision, battery obsession, and garage-level gumption, there would be no Tesla to tweet about today.
Now an advisor and startup mentor, Eberhard keeps his name on the circuitry of EV history, even if he’s not the one driving the headlines.
Call him the quiet current behind the electric revolution.
Today in Patent History
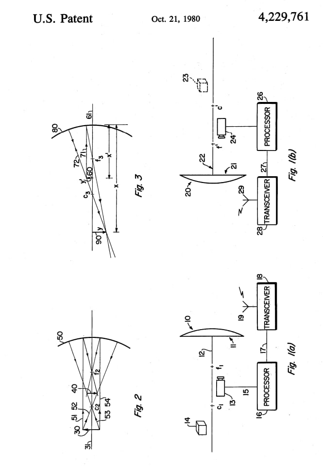
👩🏾🚀 The NASA Scientist Who Accidentally Invented 3D Movies
Valerie Thomas, a trailblazing NASA scientist, received a patent for the Illusion Transmitter, a device using concave mirrors to create three-dimensional images. Her invention laid the groundwork for modern 3D technology in television and imaging systems. Thomas’s journey began in childhood curiosity, nurtured through physics studies at Morgan State University, where she was one of only two women in her program. At NASA, she helped develop the Landsat program, advancing satellite imaging and Earth observation. Rising to associate chief of NASA’s Space Science Data Operations Office, Thomas broke barriers, mentored future scientists, and left an enduring legacy in STEM. | ![]() U.S. Patent No. 4,229,761 |
Introducing New Data Products and Enhancements
💡From INVENT to INVEST — Just One Letter (and One Vault) Away |
INVENT and INVEST are nearly identical. Swap the N for an S, and you turn ideas into impact. |
And bridging the gap is the UpFront Research Reports Vault, your toolkit to transform invention into opportunity. Most inventions that use gold in patents are about tiny, tiny gold particles, so small you can’t see them! 🪙✨ People mix these tiny gold bits with other materials to make new, stronger, or smarter stuff, like shiny coatings, special paints, or tools that can help in science and medicine. This report can be accessed by our Go Pro Paid members. |
Learn AI in 5 minutes a day
What’s the secret to staying ahead of the curve in the world of AI? Information. Luckily, you can join 1,000,000+ early adopters reading The Rundown AI — the free newsletter that makes you smarter on AI with just a 5-minute read per day.
Centurion Patentors
Congratulations to last week's Centurion Patentors! |
The Centurion Patentors are 0.185% of ALL Inventors worldwide who hold more than one hundred U.S. patents. They are the Navy SEALs of innovation. They don’t just have good ideas once; they’ve built a discipline, a repeatable process for turning thought into impact. |
We are excited to welcome the following inventors into these prestigious patent clubs: |

Trivia
Answer: ✅ First patented: Zipper
The “clasp locker”, an early zipper, was patented in 1893 by Whitcomb Judson.
The ballpoint pen wasn’t patented until 1938 by László Bíró.
✍️ Fun Fact: The zipper had a slow start. It took about 20 years to zip into fashion. Meanwhile, Bíró’s pen took off fast, even the British Air Force adopted it during WWII!
Recommendations
Disclosure: Our free newsletter and website may include paid placements (labeled “Sponsored,” “Partnered,” or “Ad”) as well as affiliate links. If you click or make a purchase, we may earn a commission. We are not affiliated with the advertisers featured. These partnerships help us keep the newsletter free for our readers.
Any claims made in advertising content are not researched, verified, or endorsed by IDiyas.







Reply