
For the Inventor, By the Inventor.
Become An AI Expert In Just 5 Minutes
If you’re a decision maker at your company, you need to be on the bleeding edge of, well, everything. But before you go signing up for seminars, conferences, lunch ‘n learns, and all that jazz, just know there’s a far better (and simpler) way: Subscribing to The Deep View.
This daily newsletter condenses everything you need to know about the latest and greatest AI developments into a 5-minute read. Squeeze it into your morning coffee break and before you know it, you’ll be an expert too.
Subscribe right here. It’s totally free, wildly informative, and trusted by 600,000+ readers at Google, Meta, Microsoft, and beyond.
🦾💯Centurion Patentors as of September 23 2025
Table of Contents

Bartley K Andre
Industrial Designer at Apple.

Patent D1094374 – Head-mounted display

Hong He
Standards Engineer at Apple.

Patent 12426088 – Methods and apparatus for sidelink resource exclusion for intra-device coordination in wireless communication.
A method enables a first UE to assist a second UE in sidelink communication by reporting sensing results for resource selection within a preconfigured window.
Gavin Bernard Horn
Senior Director Engineering at Qualcomm.


Patent 12426046 – Techniques for service establishment in a service-based wireless system.
A UE in a service-based wireless system discovers available core network services, requests one via its network address, obtains a service context, and exchanges messages accordingly.

Anton Mauder
R&D Engineer for IGBT module at Infineon Technologies AG, Munich, Germany.

Patent 12426350 – Semiconductor device with diode chain connected to gate metallization.
A semiconductor device integrates a wide bandgap transistor and a series diode chain, with the gate tied to the first diode anode and the source to the last diode cathode.

Shay Landis
Sr. Director, Technology at Qualcomm.

Patent 12425091 – Beam refinement procedure.
A network entity may refine beams by sending multiple reference signals via frequency division multiplexing within a single burst, based on UE capability.
Sejin Oh
Senior Staff Researcher, Dolby Laboratories.


Patent 12423871 – Point cloud data transmission device, point cloud data transmission method, point cloud data reception device, and point cloud data reception method.
A method transmits encoded point cloud data in a bitstream, and a device receives and decodes the bitstream to reconstruct the data.
Go from AI overwhelmed to AI savvy professional
AI will eliminate 300 million jobs in the next 5 years.
Yours doesn't have to be one of them.
Here's how to future-proof your career:
Join the Superhuman AI newsletter - read by 1M+ professionals
Learn AI skills in 3 mins a day
Become the AI expert on your team
Ming-Jun Li
Corporate Fellow at Corning Incorporated.


Patent 12422633 – Laser printed lensed optical fibers and associated methods.
A method assembles a lensed optical fiber array by in-situ ultrafast laser printing of lenses on fiber end faces, shaped to reduce pitch mismatch.

Shiwei Gao
Researcher at Ericsson.

Patent 12426063 – PDCCH reliability enhancements with multiple TRPs.
A device improves PDCCH reliability by receiving and decoding repeated DCI transmissions across multiple CORESETs, with either identical or different channel encoding.
Chao-Cheng Chen
R&D Senior Director at TSMC.


Patent 12426311 – Gate structures and spacers in semiconductor devices and methods of manufacturing thereof.
A semiconductor fabrication method forms a fin, dummy gate, and source/drain structures, then replaces the dummy gate with an active gate lined by spacers in a trench.
Eric Michel Levy-Abegnoli
Principal engineer at Cisco.


Patent 12425371 – System and method for providing SCHC-based edge firewalling.
A method uses an SCHC rules engine to detect packets matching a rule, determine a firewall action, and apply it to those packets.

Gerard James Hayes
President, WRC.

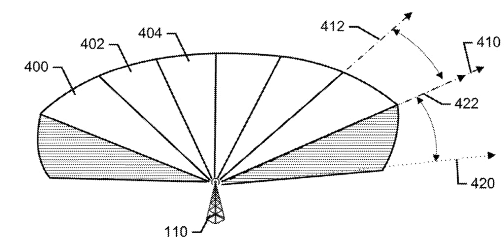
Patent 12425082 – Air to ground communication system with separate control and traffic channels.
A base station for ATG communication uses an antenna array and beamforming control, with narrow beams for traffic channels and wider beams for control channels via separate RF chains.
Keith D Foote
Vice President Global Engineering at Magna Mechatronics, Mirrors & Lighting.


Patent 12420712 – Vehicular exterior mirror system with light module.
A vehicular rearview mirror system integrates a forward-facing LED array in the mirror head, which lights up in response to the vehicle’s turn signal.
John Hurd
Product Innovation Director at Nike.


Patent 12419391 – Ground-engaging structures for articles of footwear.
Footwear ground-engaging components feature a boundary rim with open spaces at the forefoot, filled by a matrix structure forming open-cell construction for support and flexibility.

Juan A Lorenzo
Senior VP Product Development at Orchestra BioMed, Inc..

Patent 12419646 – Medical device delivery member with flexible stretch resistant mechanical release.
A delivery system for implantable devices features a flexible distal portion with a proximal hypotube, coil, compressible distal hypotube, sleeve, and loop wire to control coil elongation and expansion.
SPONSORED

Elon Musk Next Big Move? Tesla Smart Homes. And You Can Invest Early.
Elon Musk is building the future of how we live. He’s already transformed how we drive and store energy—now he’s turning to the Tesla Smart Home.
From AI-driven HVAC to solar power and smart automation, Musk’s vision is reshaping sustainable living.
But there’s one piece most people overlook: your windows.
That’s where RYSE comes in.
While Musk focuses on solar and batteries, RYSE tackles one of the biggest drains on home energy—heat gain and loss through windows.
Their smart shade technology can help reduce heating and cooling use by up to 24%, cutting both costs and carbon.
It’s not just smart—it’s cleantech. And it’s already in motion:
In 120+ Best Buy stores
Protected by 10 granted patents
Backed by 5,000+ early investors
Revenue growth doubling year-over-year
RYSE isn’t just a gadget.
It’s a scalable solution for a cleaner, smarter home.
You can invest now at just $2.25/share.
If Tesla is the platform, RYSE could be the layer that powers the windows.
Click here to review the investment opportunity
Disclosure: Our free newsletter and website may include paid placements (labeled “Sponsored,” “Partnered,” or “Ad”) as well as affiliate links. If you click or make a purchase, we may earn a commission. We are not affiliated with the advertisers featured. These partnerships help us keep the newsletter free for our readers.



