
For the Inventor, By the Inventor.
The Simplest Way to Create and Launch AI Agents and Apps
You know that AI can help you automate your work, but you just don't know how to get started.
With Lindy, you can build AI agents and apps in minutes simply by describing what you want in plain English.
From inbound lead qualification to AI-powered customer support and full-blown apps, Lindy has hundreds of agents that are ready to work for you 24/7/365.
Stop doing repetitive tasks manually. Let Lindy automate workflows, save time, and grow your business.
🦾💯Centurion Patentors as of October 7, 2025
Table of Contents

Yu Zhang
Systems Engineer at Qualcomm.

Patent 12439453 – Method and apparatus for multiple uplink transmissions.
A method involving receiving control information for each transmission and determining a corresponding transmission beam based on that information.

Clara Geneviève Marine Courtaigne
Accessories designer.

Patent D1096749 – Head-mounted display.
Fletcher R Rothkopf
Vice President of Product Design, Vision Products Group.


Patent 12436629 – Capacitive touch panel for sensing mechanical inputs to a device.
A device with a touch-sensitive surface and mechanical input that detects both touch and mechanical interactions via capacitance measurements, using logic to distinguish between the two input types.
Sigen Ye
Cellular System Engineering, Standards at Apple.


Patent 12439441 – Reporting channel state information for multi-TRP operation.
A user equipment reports semi-persistent channel state information for multiple transmission reception points by collecting CSI from each TRP, generating a combined report, and transmitting it to the associated cell.
Chewn-Pu Jou
Manager at TSMC.


Patent 12436335 – Calibration system for wavelength-division multiplexing, wavelength-division multiplexing system, and calibrating method for wavelength-division multiplexing.
A calibration system for wavelength-division multiplexing (WDM) uses an optical sensor and heating devices controlled by an electrical unit to adjust or maintain channel temperatures based on detected optical energy levels.

Max Wolff
Design Director, Director of Product Strategy.

Patent D1096530 – Vehicle front upper bumper cover.

Nathan Thomas Sargent
Entrepreneur, Engineer.

Patent 12434113 – Golf club heads.
A golf club head with an adjustable weight system includes a channel in the sole, a movable weight member secured by a fixed-position fastener, and optional mass elements to fine-tune the club’s balance and performance.
Raymond G Beausoleil
Senior Fellow and Senior Vice President at Hewlett Packard Enterprise.


Patent 12436338 – Hitless optical power monitor.
A method for fabricating a photonic integrated circuit with an embedded optical power monitor by introducing controlled edge roughness in the waveguide pattern to generate detectable free carriers during operation.
Xipeng Zhu
6G R&D at Apple.


Patent 12439286 – Application, services, and network slice based measurements for minimization of drive test reporting.
A wireless communication method in which a user equipment and base station perform MDT, QoS, and QoE measurements based on configured triggers, such as application activity or network conditions, and adjust reporting using factors like network slice, location, and time.
William A Sorrentino, III
Senior Director, Design Team.


Patent D1096803 – Display screen or portion thereof with graphical user interface.
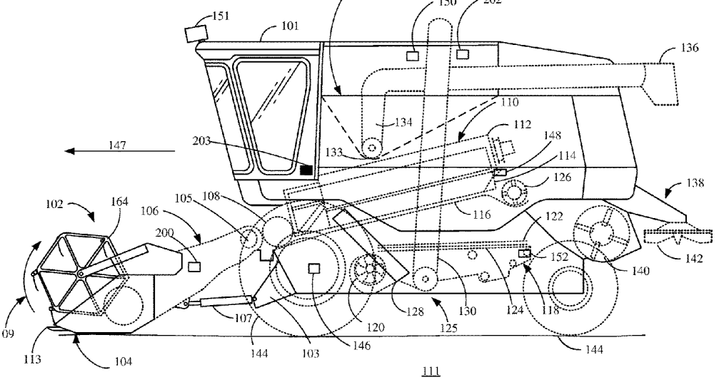
Nathan R Vandike
Staff Engineer at John Deere.


Patent 12433194 – Systems and methods for predictive harvesting logistics.
An agricultural harvesting system with a logistics module that uses crop characteristic maps and thresholds to determine optimal crop mixtures and generate routes for harvesters or receiving machines.
Richard Cartledge
Practicing Cardiothoracic and Vascular Surgeon at Delray Medical Center.


Patent 12433617 – Aspiration thrombectomy system and methods for thrombus removal with aspiration catheter.
A clot removal system with a catheter, vacuum source, and controller that automatically applies a programmed on/off vacuum pattern when the catheter is connected to regulate suction at its distal end.
Huaimo Chen
Senior Software Architect at Futurewei Technologies, Inc.


Patent 12438779 – Framework for temporal label switched path tunnel services.
A method by computing a time-constrained route using traffic engineering data and instructing the ingress node to set up and remove the path according to the specified time interval.
Alex Paterson
Senior Technical Director at Lam Research.


Patent 12437966 – Systems and methods for reverse pulsing.
A system that generate complementary RF pulsed signals for a plasma chamber, applying one to the coils and the opposite-phase signal to the chuck based on a digital input.
Andrew Jon Ross
Senior Research Manager at DuPont Pioneer.


Patent 12433233 – Maize inbred 1PBNH61.
A maize variety designated 1PBNH61, along with its seeds, plants, and parts, and methods for producing hybrids or trait-introgressed plants through crossing, backcrossing, or transformation are disclosed.
Recommendations
Go from AI overwhelmed to AI savvy professional
AI will eliminate 300 million jobs in the next 5 years.
Yours doesn't have to be one of them.
Here's how to future-proof your career:
Join the Superhuman AI newsletter - read by 1M+ professionals
Learn AI skills in 3 mins a day
Become the AI expert on your team
Disclosure: Our free newsletter and website may include paid placements (labeled “Sponsored,” “Partnered,” or “Ad”) as well as affiliate links. If you click or make a purchase, we may earn a commission. We are not affiliated with the advertisers featured. These partnerships help us keep the newsletter free for our readers.


