- Your IDiyas USPTO weekly Patent trends and update
- Posts
- 🦾💯IDiyas Centurion Patentors as of October 21, 2025
🦾💯IDiyas Centurion Patentors as of October 21, 2025
The 100+ Patent Elite Centurion inventors are pioneers with 100+ USPTO patents, driving innovation across industries.


For the Inventor, By the Inventor.
Learn AI in 5 minutes a day
This is the easiest way for a busy person wanting to learn AI in as little time as possible:
Sign up for The Rundown AI newsletter
They send you 5-minute email updates on the latest AI news and how to use it
You learn how to become 2x more productive by leveraging AI
🦾💯Centurion Patentors as of October 21 2025
Shan LiuDistinguished Scientist and General Manager. ![]() | ![]() Patent 12452446 – Joint motion vector difference coding. This disclosure describes decoding inter-predicted video blocks by using a joint delta motion vector (MV). A coded bitstream is received, a flag determines if two delta MVs are jointly signaled, the vectors are derived from a joint MV when indicated, and the block is decoded accordingly. |
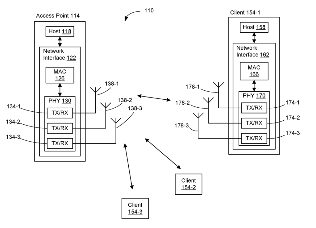
Hongyuan ZhangNXP Fellow, Director of Engineering at NXP Semiconductors. ![]() | ![]() Patent 12452849 – Aggregation of frames for transmission in a wireless communication network. A first device checks if a second device supports aggregating buffer status report (BSRP) trigger frames with other frames. If supported, it sends both in one aggregated packet; otherwise, it sends only the BSRP trigger frame. |
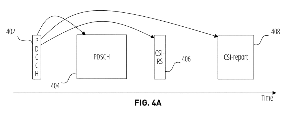
![]() | Haitong SunWireless System & Standard. ![]() Patent 12452864 – Systems and methods for PDSCH based CSI measurement. A user device measures CSI-RS and DMRS from a base station, generates channel state information (CSI) from them, and reports it back to the base station. |
Xin ZhaoVideo codec research engineer. ![]() | ![]() Patent 12452443 – Transform for L-shaped partition. A decoder processes a coded video bitstream by decoding transform coefficients for an L-shaped coding block, dividing it into rectangular sub-blocks, determining residuals for each sub-block, and reconstructing the block’s samples from those residuals. |
Anil AgiwalSamsung Electronics; FIETE; SMIEEE; Prolific Inventor. ![]() | ![]() Patent 12452956 – Method and apparatus for supporting rapid cell activation in connection resumption procedure in next generation mobile communication system. This disclosure describes a 5G-IoT communication system supporting high data rates for smart services such as smart homes, cities, and vehicles. A terminal’s PDCP entity performs deciphering and integrity verification of received data, reports any verification failure to upper layers, and discards corrupted data. |
Michael Bakr MossobaCEO at ideax. ![]() | ![]() Patent 12452626 – Machine learning model prediction of an opportunity for an entity category in a geographic area. A device analyzes event data and travel distances between individuals and entities to identify geographic areas with potential opportunities for specific entity categories, then sends a notification about the detected opportunity. |
Fact-based news without bias awaits. Make 1440 your choice today.
Overwhelmed by biased news? Cut through the clutter and get straight facts with your daily 1440 digest. From politics to sports, join millions who start their day informed.
Abhishek R AppuGPU/AI Hardware Architect/Micro-Architect. ![]() | ![]() Patent 12450819 – Apparatus and method for routing data from ray tracing cache banks. An apparatus includes ray traversal hardware with multiple storage banks to process rays through a bounding volume hierarchy (BVH). A cache temporarily stores traversal data, and a switch matrix with an arbiter dynamically connects cache banks to storage banks each cycle. |
Tze-Liang LeeTechnical Manager of Diffusion Program of Advanced Module Technology Division, Research and Development Organization. ![]() | ![]() Patent 12453144 – Semiconductor device comprising first etch stop layer over first conductive feature over source/drain region. A semiconductor device has two etch stop layers of different thicknesses over a source/drain plug and a gate, with a dielectric and contacts formed above them. |
Shuanshuan WuResearch Engineer. ![]() | ![]() Patent 12452838 – Techniques for using physical resource blocks (PRBS) in a sidelink resource pool. This disclosure describes techniques for sidelink communication where a user device identifies physical resource blocks (PRBs) not part of assigned sub-channels and uses these remaining or special PRBs for additional communication purposes. |
David Edward NewmanSVP, Head of Enterprise Knowledge Graph Solutions, Data Management and Insights Group, Wells Fargo B at Wells Fargo. ![]() | ![]() Patent 12450241 – Semantic entity search using vector space. A method enables semantic search using a neural network–based vector space of concepts. A user’s query is converted into a vector, compared to concept vectors by distance, and related concepts are displayed as search suggestions in the interface. |
![]() | Sandra ChoiCreative Director at Jimmy Choo. ![]() Patent D1098696 – Fashion ornament. |
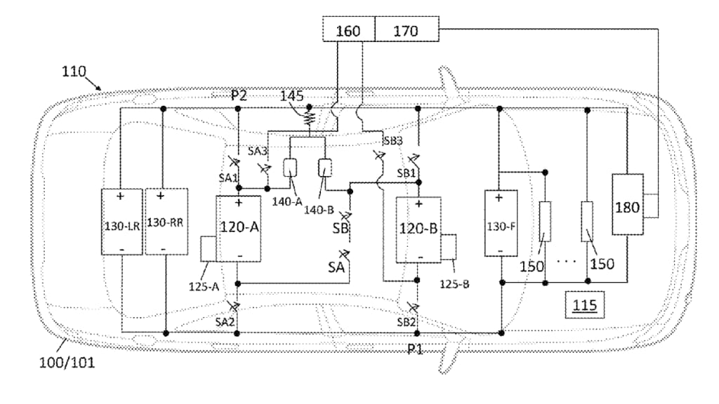
Chunhao J LeeTechnical Fellow at General Motors. ![]() | ![]() Patent 12451706 – Multi-voltage vehicle operation. A system for electric or hybrid vehicles uses multiple battery packs controlled by a controller that switches between operational modes. The modes define how the packs connect to the motors—either in series or in parallel—based on driving conditions. |
Nicholas Joseph KrayConsulting Engineer – Composites at General Electric Aviation. ![]() | ![]() Patent 12448892 – Composite airfoil assembly having a composite airfoil and spar. A composite airfoil assembly includes a composite airfoil with an outer wall and skin, a spar with a stem, base, and transition section, and a wrap. The outer wall extends from root to tip and defines an interior space. |
Jason Richard HooverAVP Product Engineering. ![]() | ![]() Patent 12449500 – Automated system for vehicle tracking. Systems and methods enable vehicle tracking by detecting a physical marker at a parking space. The vehicle captures and processes an image of the marker to determine and display its location. |
Michael F AngeloDistinguished Technologist – CRISC CISSP CDPSE, ISSA Hall of Fame, ISSA Distinguished Fellow. ![]() | ![]() Patent 12446951 – Laparoscopic and open surgery end effector jaw structure and method. A surgical instrument includes paired metal jaws that can deliver both heat and radiofrequency (RF) energy. Each jaw has a microwave emitter that converts microwave energy to heat for sealing or coagulating tissue and electrodes for applying RF energy to cut tissue. |
Robert D TurneyControl Systems Fellow, Johnson Controls Advanced Development Engineering Center. ![]() | ![]() Patent 12449172 – Systems and methods for controlling variable refrigerant flow systems using artificial intelligence. A refrigerant charge controller uses machine learning to analyze HVAC usage data, estimate refrigerant levels, detect deficiencies, and trigger corrective actions when low refrigerant is identified. |
Matthew J BernettExecutive Director of Protein and Antibody Engineering at Xencor. ![]() | ![]() Patent 12448423 – Targeted heterodimeric Fc fusion proteins containing NKG2D antigen binding domains. The invention relates to targeted heterodimeric Fc fusion proteins combining an IL-15/IL-15Rα Fc fusion with an NKG2D antigen-binding domain Fc fusion for enhanced therapeutic activity. |
Business news as it should be.
Join 4M+ professionals who start their day with Morning Brew—the free newsletter that makes business news quick, clear, and actually enjoyable.
Each morning, it breaks down the biggest stories in business, tech, and finance with a touch of wit to keep things smart and interesting.
Disclosure: Our free newsletter and website may include paid placements (labeled “Sponsored,” “Partnered,” or “Ad”) as well as affiliate links. If you click or make a purchase, we may earn a commission. We are not affiliated with the advertisers featured. These partnerships help us keep the newsletter free for our readers.





































Reply