
Long Angle: Where HNW Investors Access Institutional-Grade Alternative Investments
Long Angle is a private, vetted community that connects high-net-worth entrepreneurs and executives with institutional-grade alternative investments.
Leveraging collective expertise and scale, members access top-tier opportunities across private equity, private credit, search funds, litigation finance, energy, hedge funds, secondaries, and more.
Investing hundreds of millions of dollars each year, Long Angle negotiates preferential terms and exclusive allocations.
No membership fees.
Interested in sponsoring this newsletter: Learn more here
New to IDiyas? Subscribe Here!

As we gather to celebrate Thanksgiving, we want to take a moment to express our gratitude to you, our valued readers. Your support and engagement inspire us every day.
Wishing you a wonderful holiday filled with warmth, joy, and time with loved ones. Happy Thanksgiving!
Recommendations:
Centurion Patentors as of November 26, 2024
Table of Contents
The full version is available here

Akihiko Nishio
Akihiko Nishio received B.S. and M.S. degrees in electronic engineering from the Tokyo University of Science, Tokyo, Japan, in 2000 and 2002, respectively.
In 2002, he joined Panasonic Corporation, Nagaokakyo, Japan, where he had been involved in the development of GaAs-based semiconductor devices.
Since 2009, he has been involved in the development of GaN power switching transistors and RF-GaN PA transistors.

Patent №: 12156234 (November 26, 2024) – Configuration of control channels in a mobile communication system. The invention proposes a method to standardize control channel configuration in mobile networks by aligning control channel information sizes across formats to a uniform number of coded bits or modulation symbols, using modulation or coding techniques. This ensures consistency, particularly for scheduling-related control information.

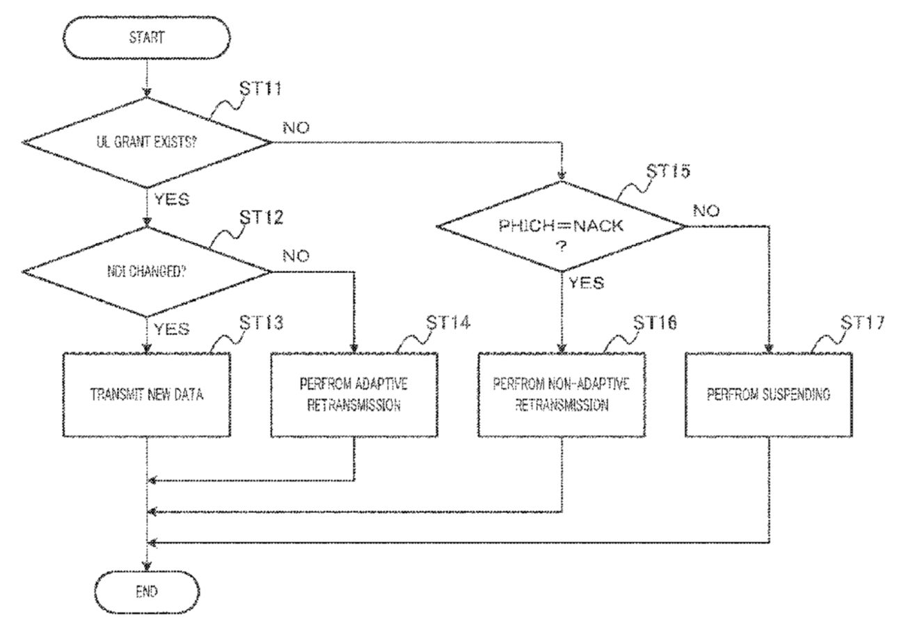
Patent №: 12155597 (November 26, 2024) – Communication apparatus and retransmission control method. The wireless communication device determines ACK or NACK signals in the PHICH region, skipping PHICH monitoring in subframes with E-PDCCH monitoring. If a NACK is received and no UL grant is detected, it prompts retransmission. If a UL grant is detected, it allocates the signal accordingly and transmits it.

Dawei Zhang
iOS Wireless Technologies at Apple.
Patent №: 12156255 (November 26, 2024) – Random access preamble transmission using a timing-based partition of preamble space. A UE performs random access to a base station with large propagation delays by selecting a preamble and a time slot based on a configured mapping of time slots to preamble subsets.
It transmits the preamble with timing advance for delay compensation. The base station uses the mapping to identify the transmission slot and responds with a Random Access Response addressed to the UE’s RA-RNTI.

Patent №: 12156226 (November 26, 2024) – Physical uplink shared channel repetition with different configurations. This application describes devices, systems, and methods for transmitting physical uplink shared channel (PUSCH) repetitions across different beams using varying configurations to enhance communication efficiency.

Patent №: 12156185 (November 26, 2024) – FR2 type 1 UL gap configuration in dynamic TDD system. Systems and methods enable UL gaps for UE calibration during TDD communication.

Icaro L J Da Silva
Director of IPR Technical Analysis at Ericsson.

Patent №: 12156243 (November 26, 2024) – RLM and beam failure detection based on a mix of different reference signals. A user equipment (UE) evaluates cell or beam quality using measurements from multiple sources in beam-formed downlink signals, including different types of reference signals and channel quality indicators. It checks if each measurement falls below a threshold to detect out-of-sync events and performs actions based on these detections.

Chih-Hao Liu
Senior Staff engineer @ Qualcomm WRD System.

Patent №: 12155492 (November 26, 2024) – Out-band physical sidelink feedback channel (PSFCH) resources for sidelink unlicensed spectrum. This method enables wireless communication by configuring a transmitter UE with a resource pool for HARQ responses linked to sidelink shared channel transmissions. The UE sends a PSSCH transmission and a HARQ response request, then receives the response from the specified feedback channel resource.

Sang Joon Kim
Master (VP of Technology) at Samsung Electronics.

Patent №: 12151607 (November 26, 2024) – Vehicle including electric motor and method of controlling brake lamp for the same. A brake lamp control method manages lamp activation during regenerative braking. It checks vehicle deceleration within a hysteresis range and the lamp’s prior state. If the lamp was triggered by factors other than regenerative braking, it adjusts the lamp state based on current braking conditions.
Dr. Kim received the bachelor’s degree in electrical engineering from Seoul National University, Seoul, South Korea, in 2001, and the master’s degree in applied mathematics and the Ph.D. degree in engineering science from the School of Engineering and Applied Sciences, Harvard University, Cambridge, MA, USA, in 2007 and 2009, respectively.

Katherine Yerre Koehler
Principal UX Researcher and Designer at Stryker.

Patent №: 12154687 (November 26, 2024) – Adaptive interface for continuous monitoring devices. Systems and methods customize continuous monitoring devices by adapting interfaces, alerts, messages, and training based on collected data, enhancing patient understanding and usability.

Andrew J Garner, IV
Senior Manager, AI Strategist at Granite Solutions Groupe, Inc.

Patent №: 12156026 (November 26, 2024) – Computing task transfers between cellular infrastructure devices. A method involves a network device receiving an authentication token from a user device, executing a task for the user, predicting the user’s future locations using a movement model, identifying network devices near those locations, and sharing the token and task data with those devices.

Joseph W Cropper
Distinguished Engineer, Power as-a-Service & Hybrid Cloud.

Patent №: 12155494 (November 26, 2024) – Asset management with respect to a shared pool of configurable computing resources. A system manages shared computing resources by evaluating asset weight and priority values to determine resource utilization and status. Based on these, it migrates an asset from one compute node to another to optimize resource distribution.
Long Angle: A Vetted Community for High-Net-Worth Entrepreneurs and Executives
Private, vetted community offering confidential discussions and education
Entrepreneurs and executives, 30–55 years old, with $5M to $100M net worth
Preferential access to top-tier alternative investments


