
For the Inventor, By the Inventor.
Happy Thanksgiving from our team to yours. Grateful for your partnership in building the future.
Don't wait until New Years to take control of your health.
Every year it’s the same - November comes, the days get dark and cold, you start skipping your morning workout, and you start to lose control of your health habits.
It’s easy to think “I’ll worry about getting back on track next year” - but there’s no reason you can’t get a head start now.
You just need a daily health habit that’s ACTUALLY easy to stick with.
That’s where AG1 comes in. With just one quick scoop every morning, you’ll get over 75 ingredients that help support your immune health, gut health, energy, and close nutrient gaps in your diet.
Right now is the best time to get started - with every new subscription, they are giving away $126 in free gifts for the holidays.
Give AG1 a try today and take back control of your health this holiday season.
🦾💯Centurion Patentors as of November 25, 2025
Table of Contents
Greg R Dhuse
Roger P Jackson
Gordon M Platto
Leo John Grady
Ryuichi Kanoh
Gregory De Swarte
Nevada J Sanchez
Evan Thomas Edwards
Louis J Bruno
Biswajeet Guha
Thomas B Marcouiller
Radomir Mech
Tsuyoshi Moriya

Greg R Dhuse
Distinguished Engineer at Ocient.


Patent 12481559 – Data recovery in a distributed storage network.
A computing device connects to a storage network and manages stored data. When it detects a storage error, it checks how many data slices are available. If enough slices exist, it rebuilds the data. If not, it starts a recovery process.
Roger P Jackson
Owner, Spine & Scoliosis Surgery, Inc.


Patent 12478537 – Frame and patient support, and surgical methods using same.
A frame and patient support system is provided for use before, during, and after surgery. It helps position and stabilize the patient, especially for spine procedures. The system can rotate around an axis and includes supports for the lower legs, upper legs, pelvis, torso, head, and arms.
Gordon M Platto
Design Director, Ford Brand Car and CUV at Ford Motor Company.


Patent D1103030 – Vehicle front bumper cover insert.

Patent D1103028 – Vehicle front lower bumper cover.
Leo John Grady
Founder and CEO of Jona.


Patent 12478430 – Systems and methods for treatment planning based on plaque progression and regression curves.
A system evaluates vascular disease by using patient data to create a vessel model, simulating shape changes, calculating blood flow, and displaying how those changes affect the flow.
Ryuichi Kanoh
Sakana AI – Applied Research Engineer.


Patent 12483720 – Image encoder and related non-transitory computer readable medium for image decoding.
An encoder computes pixel values for two partitions using two motion vectors, then blends them. If the block is too wide or too tall, the encoder disables this process.

Gregory De Swarte
Product & UX Design, Innovation Strategy & Idea Generation, Product Roadmap & Product Portfolio Strategy.

Patent D1103347 – Bath spout.
Nevada J Sanchez
Co-Founder and VP of Core Technology Engineering at Butterfly Network, Inc..


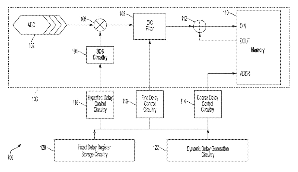
Patent 12478351 – Ultrasound device with elevational beamforming.
The technology performs elevational beamforming for ultrasound. Control circuits can sum data from different channels, apply phased decimation, or add phase offsets through digital synthesis.
The best marketing ideas come from marketers who live it. That’s what The Marketing Millennials delivers: real insights, fresh takes, and no fluff. Written by Daniel Murray, a marketer who knows what works, this newsletter cuts through the noise so you can stop guessing and start winning. Subscribe and level up your marketing game.

Evan Thomas Edwards
President at Kymanox.

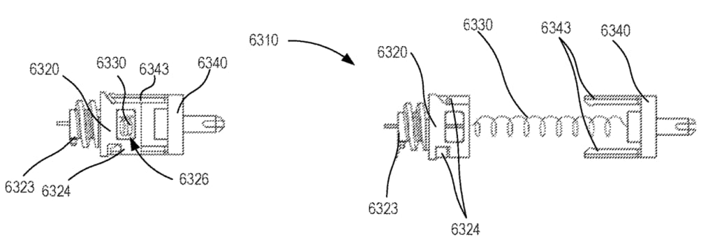
Patent 12478739 – Devices and methods for delivery of substances within a prefilled syringe.
An apparatus has a housing, a carrier, a medicament container, and a flexible member. When the container’s seal moves, the flexible member expands and moves a valve at the housing opening, controlling airflow.
Louis J Bruno
Senior Fellow at Collins Aerospace.


Patent 12479581 – Cabin air compressor with integral heat exchanger.
A vehicle’s environmental control system includes a compressor and a heat exchanger. The compressor receives and compresses a first medium. A conduit carries a second medium. The heat exchanger, connected to both the compressor and the conduit, transfers heat between the two.
Biswajeet Guha
Principal Device Engineer at Intel.


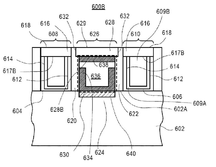
Patent 12484272 – Source or drain structures with relatively high germanium content.
The technology describes integrated circuit structures with high-germanium source or drain regions. A fin has a gate stack on top, with epitaxial source and drain structures on both sides. These regions contain silicon and germanium and have the same or higher germanium content as the fin.
Thomas B Marcouiller
Distinguished Engineer at Commscope.


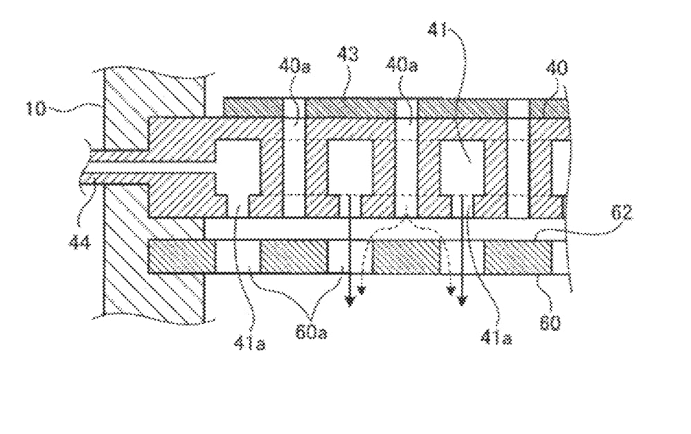
Patent 12481113 – Slidable fiber optic connection module with cable slack management.
A fiber-optic device has a frame and a module with a fixed rack mount, a sliding center section, and a sliding main housing. The main housing holds cable connections. The center section guides the cables and unlocks for sliding, and moving it shifts the main housing along the frame.
Radomir Mech
Principal Scientist and Research Manager at Adobe.


Patent 12482172 – Generating shadows for objects in two-dimensional images utilizing a plurality of shadow maps.
The system edits 2D images using 3D representations. It adjusts shadows, modifies people, estimates scene scale, creates 3D surfaces for object edits, and customizes focal points.
Tsuyoshi Moriya
Vice President at Tokyo Electron Ltd.


Patent 12482635 – Plasma processing device, and plasma processing method.
A dividing plate separates a reaction chamber from a plasma chamber. It holds a first electrode and holes for passing active species. A second electrode faces it. Plasma is generated by applying multi-frequency high-frequency power to one of the electrodes.
Disclosure: Our free newsletter and website may include paid placements (labeled “Sponsored,” “Partnered,” or “Ad”) as well as affiliate links. If you click or make a purchase, we may earn a commission. We are not affiliated with the advertisers featured. These partnerships help us keep the newsletter free for our readers.



