- Your IDiyas USPTO weekly Patent trends and update
- Posts
- 🦾💯IDiyas Centurion Patentors as of November 18, 2025
🦾💯IDiyas Centurion Patentors as of November 18, 2025
The 100+ Patent Elite Centurion inventors are pioneers with 100+ USPTO patents, driving innovation across industries.


For the Inventor, By the Inventor.
Stop Drowning In AI Information Overload
Your inbox is flooded with newsletters. Your feed is chaos. Somewhere in that noise are the insights that could transform your work—but who has time to find them?
The Deep View solves this. We read everything, analyze what matters, and deliver only the intelligence you need. No duplicate stories, no filler content, no wasted time. Just the essential AI developments that impact your industry, explained clearly and concisely.
Replace hours of scattered reading with five focused minutes. While others scramble to keep up, you'll stay ahead of developments that matter. 600,000+ professionals at top companies have already made this switch.
🦾💯Centurion Patentors as of November 18, 2025
Xiaoxia ZhangDr. at Qualcomm Incorporated. ![]() | ![]() Patent 12477578 – Configured grant channel occupancy time sharing procedure. Configured grant COT sharing lets a device share its transmission window and report key timing and priority information, with optional simplification or compression based on network settings. |
Michael Linley FrippDistinguished Engineer at Halliburton. ![]() | ![]() Patent 12473825 – Wireless telemetry using a pressure switch and mechanical thresholding of the signal. Wireless downhole telemetry uses pressure changes in a tubular to send digital commands from the surface, which are detected by a downhole receiver using a mechanical pressure switch. |
Herriot TabuteauChief Executive Officer at Axsome Therapeutics, Inc.. ![]() | ![]() Patent 12472258 – Pharmaceutical compositions comprising meloxicam. Compositions combining meloxicam or rizatriptan with a cyclodextrin, carbonate, or bicarbonate can improve oral delivery for treating pain, including migraines. Methods of using meloxicam and rizatriptan during acute migraine are also described, with some formulations achieving a meloxicam Tmax of three hours or less. |
Justin LewisCEO Kugelblitz. ![]() | ![]() Patent 12477161 – Dynamic video ad format based on user bitrate and bandwidth. Systems and methods use bandwidth factors to estimate a client device’s buffer wait time or buffer ratio during video playback, and then use those estimates to choose the ad format and select the advertisement to accompany the video. |
Ashish Bhoopen KuraniExecutive Director, Enterprise Partnerships @ Wells Fargo. ![]() | ![]() Patent 12475457 – Allocation of non-fungible token (NFT) by containerized data structures. A system registers NFT accounts to key pairs => receives an NFT transfer request => computes a related value using the NFT and fiat amounts => transfers the NFT into a smart contract => links each account’s key pair to the contract with its corresponding NFT value. |
![]() | Eli N GlezerScientist / Engineer / Entrepreneur / R&D Executive. ![]() Patent 12473588 – Chemical and thermal assisted nucleic acid amplification methods. Methods for nucleic acid amplification and detection are described, along with devices, compositions, and kits designed for use with these methods. |
![]() | Robert J PeraChairman/CEO, Ubiquiti. ![]() Patent 12476891 – Using wireless packets to indicate device boot status. A network device begins its boot sequence and sends a first wireless packet indicating it is booting, then later sends a second packet indicating the boot process is complete. |
Francis J KubDr. Kub earned his MS and PhD in Electrical Engineering by 1985, worked at Westinghouse on VLSI and photodetector innovations, and later led the Power Electronics Branch at the Naval Research Laboratory. ![]() | ![]() Patent 12476111 – Selective area diffusion doping of III-N materials. Selective-area diffusion doping introduces species like Mg into III-N layers by depositing a dopant film, capping it, and annealing so the dopant diffuses into the material without surface damage. |
Hari KannanTechnical Director of Engineering at Pure Storage. ![]() | ![]() Patent 12474856 – Storage system with multiple write paths. A storage system includes a first memory, a storage memory, and a processor that chooses whether to write data through the first memory or directly to the storage memory, and writes data portions accordingly. |
Vladimir OksmanVice President | Lead Software Engineer at JPMorgan Chase. ![]() | ![]() Patent 12476657 – Capacity achieving multicarrier modulation and coding systems and methods. A multi-carrier transmitter includes an outer encoder for error correction, a shell mapper that applies constellation shaping to selected bits, and an inner encoder that performs additional error correction on another subset of bits. |
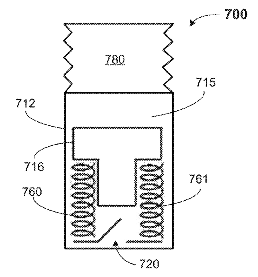
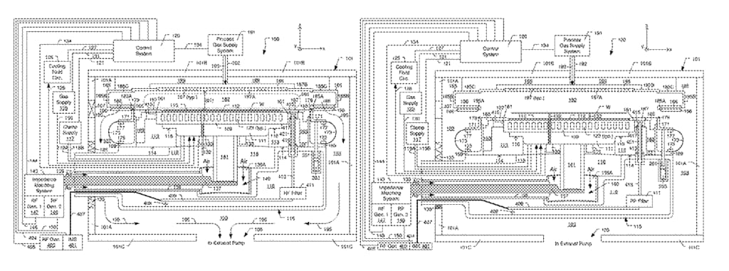
![]() | Alexei MarakhtanovManaging Technical Director Lam Research. ![]() Patent 12476082 – Radiofrequency signal filter arrangement for plasma processing system. A tunable edge sheath system uses a coupling ring with an embedded annular electrode, RF supply pins, and high-impedance RF filters to control edge conditions in a plasma chamber. |
The best marketing ideas come from marketers who live it. That’s what The Marketing Millennials delivers: real insights, fresh takes, and no fluff. Written by Daniel Murray, a marketer who knows what works, this newsletter cuts through the noise so you can stop guessing and start winning. Subscribe and level up your marketing game.
Disclosure: Our free newsletter and website may include paid placements (labeled “Sponsored,” “Partnered,” or “Ad”) as well as affiliate links. If you click or make a purchase, we may earn a commission. We are not affiliated with the advertisers featured. These partnerships help us keep the newsletter free for our readers.

























Reply