
For the Inventor, By the Inventor.
The best marketing ideas come from marketers who live it.
That’s what this newsletter delivers.
The Marketing Millennials is a look inside what’s working right now for other marketers. No theory. No fluff. Just real insights and ideas you can actually use—from marketers who’ve been there, done that, and are sharing the playbook.
Every newsletter is written by Daniel Murray, a marketer obsessed with what goes into great marketing. Expect fresh takes, hot topics, and the kind of stuff you’ll want to steal for your next campaign.
Because marketing shouldn’t feel like guesswork. And you shouldn’t have to dig for the good stuff.
🦾💯Centurion Patentors as of November 11, 2025
Table of Contents
Junyi Li
Jing X Sun
Shota Aoyagi
Ye-Kui Wang
John Edward Cronin
Stephen J Todd
Clement Hsingjen Wann
Victor Carbune
Terry A Bacon
Randy W Westlund
Brian Joseph Greene
Robert Jan Visser
Vishnu Mohan Sishtla
Chung-Hao Tsai

Junyi Li
Vice President of Engineering at Qualcomm. Co-founder of Flarion Technologies. A pioneer of OFDMA.


Patent 12471170 – Inter-donor topology discovery in integrated access and backhaul (IAB).
A donor node may establish signaling with an IAB-node, detect connections with another donor, and coordinate information exchange or traffic re-routing to maintain network continuity.
Jing X Sun
System Engineer at Qualcomm.


Patent 12471150 – Techniques for transmission of message a (MSGA) in an idle period within a wireless communication system.
This disclosure describes techniques for handling transmissions during an idle period of a fixed frame period (FFP), where a user device maps overlapping random access and uplink resources to perform a random access procedure.

Shota Aoyagi
Designer.

Patent D1101720 – Headphones.
Ye-Kui Wang
Scientist at ByteDance.


Patent 12470738 – Interlaced video coding with leading pictures.
The flag determines the decoding order of leading and non-leading pictures relative to the IRAP picture, enabling flexible decoding based on the flag’s value.
John Edward Cronin
Chairman and Managing Director ipCapital Group.


Patent 12469038 – Method of determining a user’s long-term value and finding a similar new user.
A method includes receiving a user request with data requirements. It identifies records that meet those requirements. Each record is given a relative value based on the requirements. Access controls are applied to track data usage.
Stephen J Todd
Retired Software Engineer.


Patent 12468836 – Method of determining data set membership and delivery.
A method includes receiving a user request specifying requirements for a data set, identifying data records that meet those requirements, calculating relative values for each record based on the requirements, and applying access controls that allow tracking of data access.
Go from AI overwhelmed to AI savvy professional
AI will eliminate 300 million jobs in the next 5 years.
Yours doesn't have to be one of them.
Here's how to future-proof your career:
Join the Superhuman AI newsletter - read by 1M+ professionals
Learn AI skills in 3 mins a day
Become the AI expert on your team
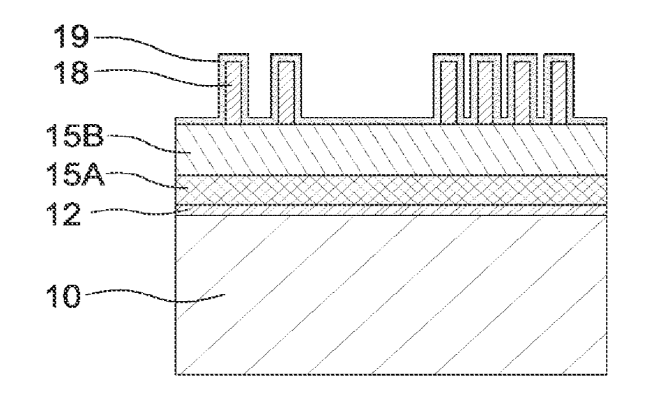
Clement Hsingjen Wann
Technical Director at TSMC.


Patent 12469710 – Method of manufacturing a semiconductor device.
A method includes forming a fin structure by patterning a semiconductor layer, creating sidewall damage during patterning, and removing the damage through annealing.
Victor Carbune
Staff Software Engineer at Google Deepmind.


Patent 12468965 – Actionable suggestions for activities.
A method includes detecting a shared event, selecting an output template based on the event type, generating a notification using the template and event data, and sending the notification to a user device.
Terry A Bacon
Retired, former Vice President, Variety Development at Sun World Innovations.


Patent PP37090 – Plum tree named ‘SUPLUM65’
The plum variety ‘SUPLUM65’ produces large, round, early-season fruit with black skin, firm red flesh, and a sweet, mild flavor.
Randy W Westlund
Director at Cardiac Concepts, Inc.


Patent 12465756 – Medical lead with preformed bias.
A medical electrical lead includes preformed biases that help stabilize it within a lumen and position its electrodes in a desired orientation during implantation.
Ari M Frank
Senior Physicist at Novocure.


Patent 12468387 – Operating an eye tracker camera according to eye position.
The device measures eye positions, while the camera captures images within a limited range. The computer adjusts camera bitrate—using a higher rate when eyes are within range and reducing or stopping image capture when they move outside it—to optimize efficiency.
Brian Joseph Greene
LTD Device Manager at Intel Corporation.


Patent 12471354 – Dipole threshold voltage tuning for high voltage transistor stacks.
Integrated circuits include high and low voltage transistor stack structures. Both may share the same gate metal, while a metal oxide around the high-voltage channels adjusts the dipole properties of the gate insulator.
Robert Jan Visser
Applied Materials Vice President, CTO office at Applied Materials. SID Fellow.


Patent 12471502 – High quality quantum computer components.
Methods for fabricating quantum computing components include removing native oxide from a silicon substrate, transferring it under vacuum, and depositing an aluminum layer to form an oxygen-free interface between the aluminum and silicon.
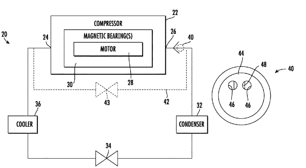
Vishnu Mohan Sishtla
Senior Technical Fellow at Carrier Corporation.


Patent 12467462 – Compressor assembly including a flow-restricting valve.
A compressor assembly includes a housing with a suction inlet and discharge outlet. A flow valve permits full flow in one direction during normal operation and restricts reverse flow through the discharge outlet under opposite conditions.
Chung-Hao Tsai
Dr. Tsai is a Taiwanese researcher in electrical engineering. He earned his B.S. from National Sun Yat-sen University in 2006 and a Ph.D. in Communication Engineering from National Taiwan University in 2012.


Patent 12469808 – Semiconductor package and manufacturing method thereof.
A semiconductor package includes stacked first and second dies with interconnects on both sides of the second die’s substrate. The second interconnect lies between the first and third interconnect structures.
Choose the Right AI Tools
With thousands of AI tools available, how do you know which ones are worth your money? Subscribe to Mindstream and get our expert guide comparing 40+ popular AI tools. Discover which free options rival paid versions and when upgrading is essential. Stop overspending on tools you don't need and find the perfect AI stack for your workflow.
Disclosure: Our free newsletter and website may include paid placements (labeled “Sponsored,” “Partnered,” or “Ad”) as well as affiliate links. If you click or make a purchase, we may earn a commission. We are not affiliated with the advertisers featured. These partnerships help us keep the newsletter free for our readers.




