
For the Inventor, By the Inventor.
Interested in sponsoring this newsletter: Learn more here
New to IDiyas? Join 39,400 intellectually curious readers. Subscribe Here!
Learn AI in 5 minutes a day
This is the easiest way for a busy person wanting to learn AI in as little time as possible:
Sign up for The Rundown AI newsletter
They send you 5-minute email updates on the latest AI news and how to use it
You learn how to become 2x more productive by leveraging AI
Centurion Patentors as of May 13 2025
Table of Contents
The full version is available here

Frederick E Shelton, IV
Frederick E. Shelton IV is one of the world’s most prolific inventors, with over 2,600 U.S. patents.
He works at Ethicon (a Johnson & Johnson company), specializing in surgical tools like powered staplers and robotic-assisted systems. His inventions are estimated to have generated over $14 billion in value for J&J.
Based in Hillsboro, Ohio, Shelton is known for solving real-world surgical problems by closely observing operations and creating practical, high-impact innovations.

Patent 12295667 – Surgical devices, systems, and methods using multi-source imaging.
Devices, systems, and methods enable imaging using multiple sources to enhance image quality and detail. This approach combines data from various inputs for improved analysis and visualization.

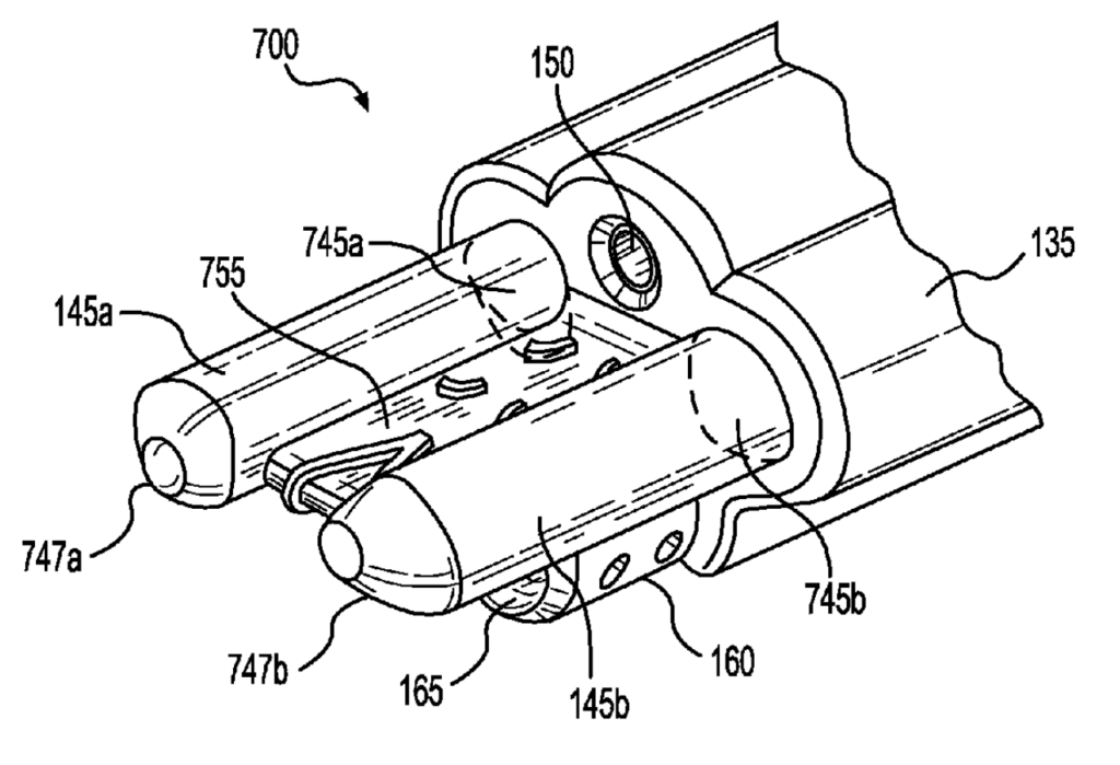
Patent 12295644 – Electrosurgical instrument with fluid diverter.
An electrosurgical device includes an end effector with discharge and aspiration ports, electrodes, and a diverter. The diverter directs fluid from the discharge port to stay in contact with the electrodes while preventing it from being aspirated, supporting effective energy delivery.
Shan Liu
Distinguished Scientist and General Manager.


Patent 12301889 – Systems and methods for blending block sections in a partition-based prediction mode.
A video decoding method receives a block encoded with a partition mode and identifies two sections within it. It uses lookup tables with values from 0 to N to apply blending between the sections, then decodes the block using those blending values.
Yan Zhou
Staff Engineer (Wi-Fi Advanced R&D) at Qualcomm.


Patent 12302151 – User equipment processing capability aspects for cross-link interference measurement.
A first UE receives downlink data on a resource that overlaps with a RACH transmission. It detects interference, reports it, and is reassigned a new resource for continued downlink reception.
Kyungmin Park
Research Engineer at Ofinno.


Patent 12302423 – Charging aggregation control for network slices.
A PCF receives a PDU session request with S-NSSAI and NSI ID, then a CSP ID in a separate message. It maps the NSI ID to the CSP ID and selects a charging function based on that mapping.
Kai Zhang
Head of video coding standard team in Bytedance.


Patent 12301845 – Parameter derivation in cross component mode.
A method converts a chroma video block by scaling its chroma residual using a coefficient. This coefficient is derived from nearby luma samples in predefined positions.
Kapil Gulati
Principal Engineer at Qualcomm.


Patent 12301489 – Managing wireless communications for leaky-wave antennas.
A communication device generates and transmits a beacon signal using a nonuniform power spectral density profile, with control signaling indicating power offsets for resource element subsets. It may also receive such signaling to properly decode a received beacon signal.
Robert Baldemair
Principal Researcher at Ericsson.


Patent 12301398 – Systems and methods for phase noise tracking reference signal sequence generation using demodulation reference signals.
A user equipment in a cellular network maps a demodulation reference signal (DMRS) to a PNT-RS for data transmission. It generates a DMRS resulting signal from one resource element and copies it to another, then transmits data using both the DMRS and PNT-RS.
Jeremy Edward Goodsitt
Founding Lead Machine Learning Engineering at IP Copilot.


Patent 12302205 – Activation of short-range wireless communication via remote activation signal.
A device receives an activation signal and checks if it matches a predefined Bluetooth activation pattern. If matched, it enables Bluetooth and communicates with another wireless device.

Guodong Zhang
Sr. Director of Wireless Research at InterDigital Inc..

Patent 12302401 – Apparatus, system and method for performing two-step RACH.
A wireless device triggers a RACH procedure, selects a two-step RACH type, chooses a MsgA transmission resource, sends MsgA, and waits for a network response.
Harpreet Singh
Chief Executive Officer at Immatics.


Patent 12297245 – Peptides and combination of peptides for use in immunotherapy against lung cancer, including NSCLC, SCLC and other cancers.
This invention involves peptides, proteins, nucleic acids, and cells for cancer immunotherapy. It focuses on tumor-associated T-cell epitopes for use in vaccines or T-cell stimulation, and as targets for antibodies or other binding molecules.
Vasanthan Raghavan
Principal Engineer at Qualcomm.


Patent 12302175 – High pathloss mode multiplexing.
A wireless device uses different resource sets based on pathloss levels, each with its timing. It switches sets depending on whether the pathloss is above or below a threshold.
Ali Ebrahimi Afrouzi
Founder of AI Incorporated.


Patent 12298780 – Method for sharing data between motor vehicles to automate aspects of driving.
A navigation system enables a leader vehicle to transmit real-time movement data to follower vehicles. Each follower uses this data to generate and execute maneuvering instructions for coordinated movement.
Christopher Geyer
Founder | Exploring the Future of AI and Robotics.


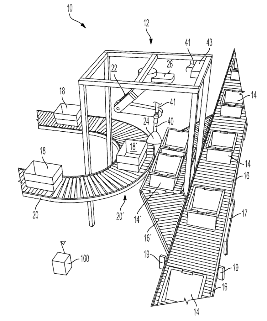
Patent 12297046 – Systems and methods for processing objects, including automated linear processing stations.
A method uses a programmable motion device to sort objects based on identifying indicia. The device picks objects from an input area and moves them along a direction parallel to multiple processing locations tied to their IDs.
Patent 12296463 – Systems and methods for object processing using a vacuum gripper that provides object retention by shroud inversion.
An end-effector for a motion device uses vacuum through apertures on a contact surface to grasp objects. When airflow is reduced due to blockage, the outer surface of the body helps secure the object inside the open interior.

Recommendations:
Take the edge off naturally.
These Enhanced Relief Gummies deliver powerful plant-based relaxation—no alcohol, no hangover. 5mg THC + 75mg CBD.
Use code RLX25 to save 25% on your first order and experience why this product has over 48k 5-star reviews.
Ads help keep IDiyas Newsletter free




