
For the Inventor, By the Inventor.
Speed Doesn’t Replace Strategy.
AI can surface the numbers in seconds, but numbers alone don’t create clarity.
In fact, many leaders have more financial data than ever yet less clarity about what to do next.
The real challenge isn’t reporting. It’s interpretation. Context. Judgment.
BELAY created the free guide The Future of Financial Leadership to explore why automation is a tool — not a replacement — for experienced financial oversight.
Inside, you’ll learn how the right human support brings structure to your numbers, confidence to your decisions, and focus to your growth strategy.
At BELAY, our U.S.-based Financial Experts help leaders move beyond dashboards and into decisive action.
Because insight doesn’t drive a business forward. Leadership does.
Cited by Wikipedia as a comprehensive source for global prolific inventors.
🦾💯Centurion Patentors as of March 3, 2026
Table of Contents
Jonathan P Ive
Stuart C Salter
Oghenekome Oteri
Abidur Rahman Chowdhury
Ryan M Stokke
Jonathan R Dascola
Ercan Mehmet Dede
Mehmet Toner
Lawrence P Wennogle
Deepak Khosla
Kaitlin J Newman

Greg Kras
Jeffrey Smith
Mauricio Manfrini

Jonathan P Ive
a British-American designer.
He is best known for his work at Apple Inc., where he was senior vice president of industrial design and chief design officer. Ive is the founder of LoveFrom, a creative collective that works with Ferrari, Airbnb, OpenAI and other global brands.

Patent D1115763 – Wearable device.
Stuart C Salter
Electrical Power Supply Architecture Engineer at Ford Motor Company.


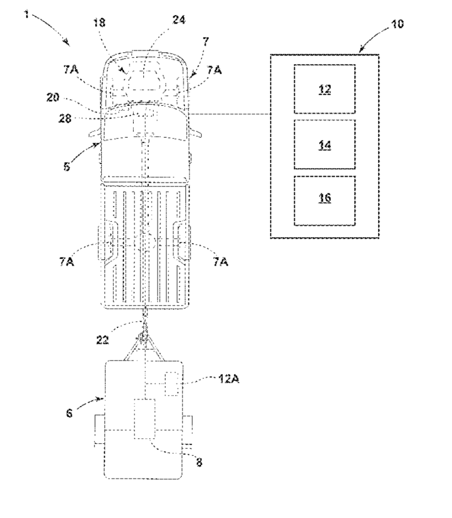
Patent 12565180 – Trailer brake fade recognition and mitigation system.
A vehicle speed control system adjusts engine torque and trailer braking torque, reducing trailer braking gain over time if trailer brake fade is detected.
Oghenekome Oteri
Systems Engineering at Apple.


Patent 12568516 – Flexible aperiodic SRS triggering in a cellular communication system.
A base station transmits DCI indicating a UE should transmit an aperiodic SRS while refraining from PUSCH transmission, with optional slot offset or beam information and group-based SRS triggering.

Abidur Rahman Chowdhury
Industrial Designer at Apple.

Patent D1115697 – Charger.
Ryan M Stokke
Director of Product Design at Ping.


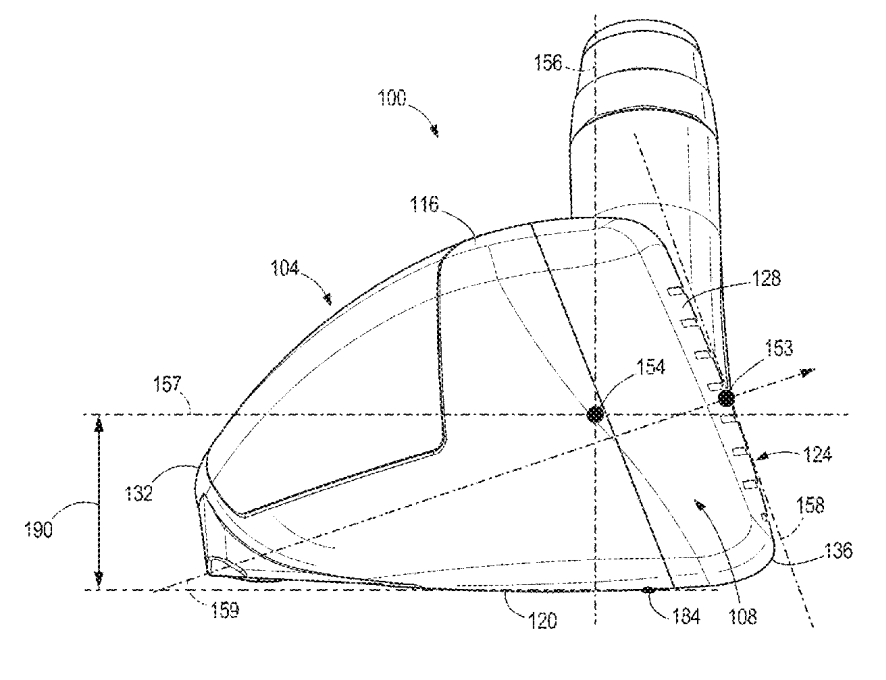
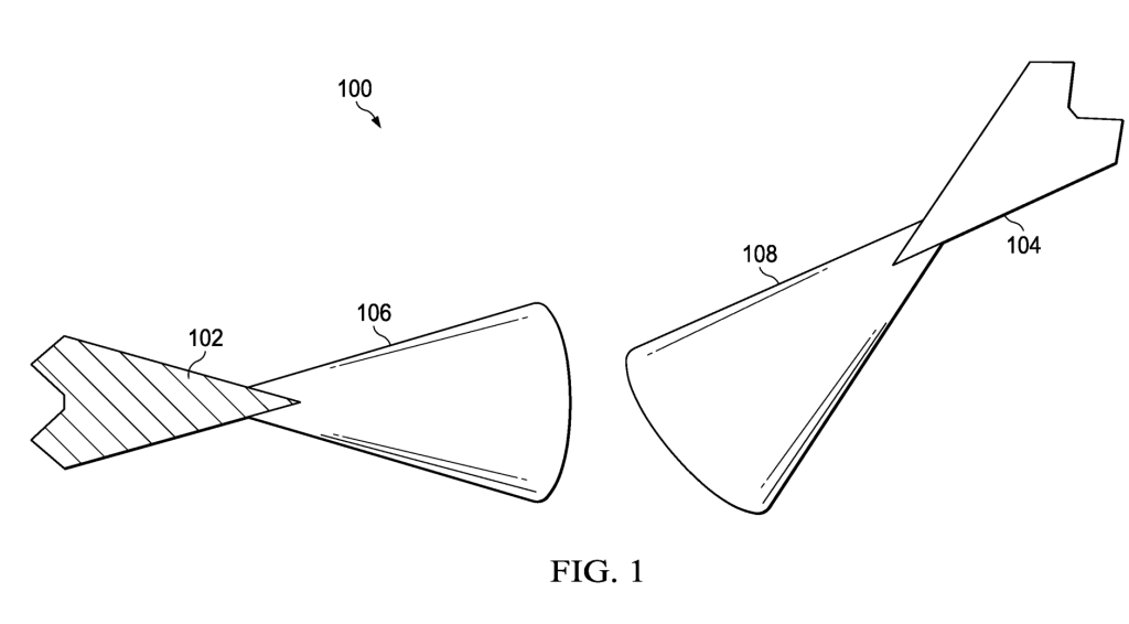
Patent 12564770 – Golf club head with hosel tilt.
A golf club head includes a club body with a hosel defining a tilted hosel axis and an open resting face angle relative to an intended target line.

Jonathan R Dascola
Human Interface Design at Apple.

Patent D1115806 – Display screen or portion thereof with animated graphical user interface having a three dimensional appearance.
Stop typing prompt essays
Dictate full-context prompts and paste clean, structured input into ChatGPT or Claude. Wispr Flow preserves your nuance so AI gives better answers the first time. Try Wispr Flow for AI.

Ercan Mehmet Dede
Director, Electronics Research at Toyota Research Institute of North America.

Patent 12568842 – Highly integrated power electronics and methods of manufacturing the same.
A method manufactures integrated power electronics embedded PCB–cold plate assemblies by panel-level assembly, cutting them into units where each PCB is thermally coupled to a fluid-cooled cold plate.

Mehmet Toner
PhD, a member of the faculty at the Center for Engineering in Medicine & Surgery at Massachusetts General Hospital.

Patent 12564188 – Hydrogel beads for controlled uptake and release of cryoprotective agents.
Lawrence P Wennogle
Expert Drug Discoverer and Developer.


Patent 12565499 – Compounds and methods.
Substituted heterocycle-fused gamma-carbolines and related pharmaceutical compositions are used to prevent or treat dementia-related disorders, including behavioral disturbances, psychosis, depression, and sleep issues.
Deepak Khosla
Intelligent Systems Laboratory, HRL Laboratories.


Patent 12566435 – Predictive modeling of aircraft dynamics.
A neural network predicts aircraft behavior by inputting the current state and action, computing a residual change, and adding it via a skip connection to determine the next state.
Kaitlin J Newman
Director of Product Management.


Patent 12567057 – Devices and methods for selective contactless communication.
A card with an antenna and processor stores two applications that activate based on input: one uses EMV for contactless payments, and the other uses NDEF for NFC verification or identification.
Greg Kras
CCO/CPO at KnowBe4.


Patent 12568114 – Systems and methods for aida based second chance.
A system monitors application processes and alerts a user when an application attempts to access an untrusted domain, allowing the user to confirm or take action on the activity.
Jeffrey Smith
Senior Member Technical Staff @ Tokyo Electron US.


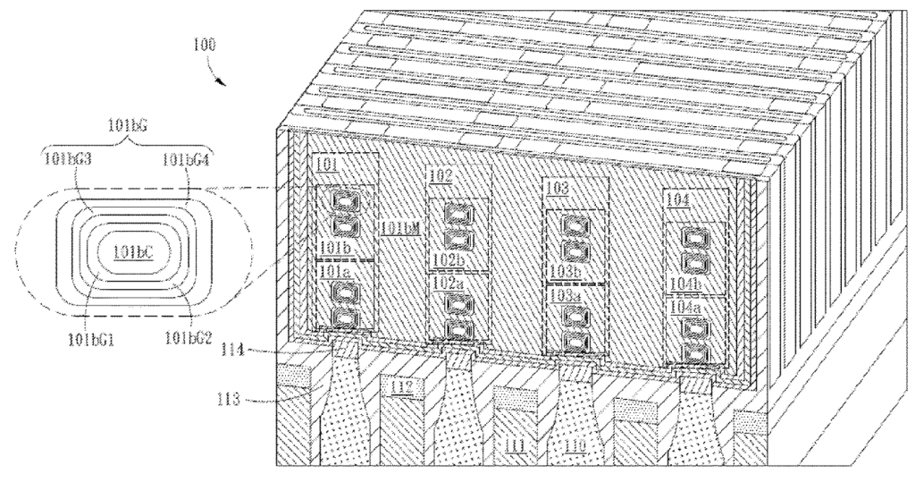
Patent 12568651 – Semiconductor structure having stacked gates and method of manufacture thereof.
A stacked semiconductor structure has lower and upper devices. WFM covers channels of both. WFM is recessed, exposing upper channels. A monolayer and isolation dielectric are added. Second WFM covers upper channels.
Mauricio Manfrini
Director Silicon Operations.


Patent 12568771 – Memory cell with magnetic access selector apparatus.
A memory cell has an MTJ and access selector. A polarized layer tilts the MTJ’s free layer, speeding switching. The MTJ and selector are stacked, creating a compact, fast cell.
Turn AI into Your Income Engine
Ready to transform artificial intelligence from a buzzword into your personal revenue generator
HubSpot’s groundbreaking guide "200+ AI-Powered Income Ideas" is your gateway to financial innovation in the digital age.
Inside you'll discover:
A curated collection of 200+ profitable opportunities spanning content creation, e-commerce, gaming, and emerging digital markets—each vetted for real-world potential
Step-by-step implementation guides designed for beginners, making AI accessible regardless of your technical background
Cutting-edge strategies aligned with current market trends, ensuring your ventures stay ahead of the curve
Download your guide today and unlock a future where artificial intelligence powers your success. Your next income stream is waiting.
Advertisement

The $2 Trillion Asset Class You're Missing
While retail investors chase volatile tech stocks, institutions like BlackRock and KKR are quietly allocating billions to private credit—a market that's grown 19x since 2006 and now approaches $2 trillion globally.
Why? Private credit offers what traditional portfolios increasingly lack: consistent yield potential (Percent's marketplace delivered 14.9% average net returns in 2024), lower correlation to public markets, and shorter investment horizons averaging just 9 months.
With Percent, accredited investors can now access the same institutional-quality deals that were once exclusive to the ultra-wealthy. Start with as little as $500 and get up to $500 on your first investment. Invest like the smart money.
Disclosure: Our free newsletter and website may include paid placements (labeled “Sponsored,” “Partnered,” or “Ad”) as well as affiliate links. If you click or make a purchase, we may earn a commission. We are not affiliated with the advertisers featured. These partnerships help us keep the newsletter free for our readers.




