
For the Inventor, By the Inventor.
Attio is the AI CRM for modern teams.
Connect your email and calendar, and Attio instantly builds your CRM. Every contact, every company, every conversation, all organized in one place.
Then Ask Attio anything:
Prep for meetings in seconds with full context from across your business
Know what’s happening across your entire pipeline instantly
Spot deals going sideways before they do
No more digging and no more data entry. Just answers.
Cited by Wikipedia as a comprehensive source for global prolific inventors.
🦾💯Centurion Patentors as of March 17, 2026
Table of Contents
Jing X Sun
Suckchel Yang
Seyedkianoush Hosseini
Jian Wang
Kazuki Takeda
Joachim Loehr
Arumugam C Kannan
Liang Zhao
Bo Gao
Weston F Harding
Raymond S Sepulveda
Yoshinori Tanaka
Anthony K Misener

Darren R Sherman
Andrew Gerrit Huibers
Marwen Zorgui
Mark A Schmisseur
Jing X Sun
System Engineer at Qualcomm.


Patent 12581544 – Bandwidth for channel occupancy time sharing.
The initiator reserves shared channel occupancy time using a clear channel assessment procedure. The responder then implicitly determines the available bandwidth based on the initiator’s transmission.
Suckchel Yang
Prominent researcher and inventor associated with LG Electronics, specializing in wireless communication technologies.


Patent 12581543 – Method for performing sidelink communication in unlicensed band by UE in wireless communication system and apparatus therefor.
Seyedkianoush Hosseini
Systems Engineer, 6G R&D, at Qualcomm.


Patent 12581487 – Search space set for monitoring physical downlink control channel (PDCCH) of one cell in multiple cells.
A UE monitors the Physical Downlink Control Channel (PDCCH) of a second cell based on received search space sets across multiple cell environments.

Jian Wang
Staff Engineer at Huawei Technologies.

Patent 12581439 – Short-range communication method and apparatus.
A first node establishes time-frequency synchronization with a second node using received synchronization information to align with a specific synchronization area.
Kazuki Takeda
Qualcomm – Senior Staff Engineer.


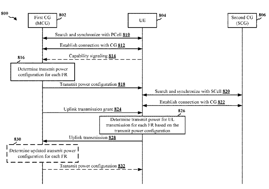
Patent 12581433 – Methods and apparatus to facilitate dual connectivity power control mode.
A UE maintains dual connectivity across Master and Secondary Cell Groups using multiple frequency ranges and specific transmit power configurations.
Joachim Loehr
Principal Researcher at Lenovo Germany.


Patent 12581393 – Enabling on-demand system information requests.
A UE receives configuration information with an enable indication to determine if on-demand system information requests are permitted during a radio resource control connected state.
Advertisement
AI Alone Can’t Run Revenue
Finance doesn’t run on “mostly right.” It runs on math.
In The Architecture Behind AI-Native Revenue Automation, Tabs’s CTO breaks down why LLMs alone aren’t enough—and what it actually takes to build audit-ready, AI-driven contract-to-cash systems for modern B2B teams.
Arumugam Chendamarai Kannan
Staff Engineer at Qualcomm.


Patent 12581544 – Bandwidth for channel occupancy time sharing.
An initiator reserves shared channel occupancy time while the responder implicitly determines bandwidth from the received transmission.

Liang Zhao
Technical Lead – Open Video Coding Standards at Tencent America.

Patent 12581128 – Systems and methods of frame interpolation with loop filtering.
A signaled indicator in a video bitstream determines whether loop filtering is applied to reconstruction pictures derived via frame interpolation.

Bo Gao
Research Director at ZTE Corporation.

Patent 12581492 – Transmission instruction method, device, terminal, base station and storage medium.
A terminal receives base station control signaling to determine uplink transmission control parameters and subsequently transmits the corresponding uplink reference signal.

Weston F Harding
Associate principal engineer, product development.

Patent D1118901 – Needle-free blood collection device.
Raymond S Sepulveda
Senior User Interface Designer at Apple.


Patent 12579209 – Devices, methods, and graphical user interfaces for interacting with a web-browser.
A portable device identifies swipe gesture locations to either scroll the tab row for webpage navigation or perform in-page functions.

Yoshinori Tanaka
Executive Officer at Unicharm Corporation.

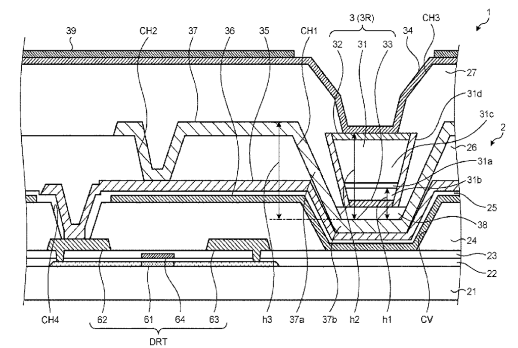
Patent 12581998 – Display device.
A display device features an organic insulating film with a recessed cavity and a reflective layer to enhance light-emitting element performance.
Anthony K Misener
General Manager, Design & Development at Viant Medical.


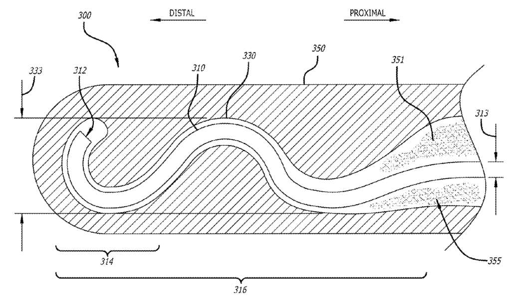
Patent 12575893 – Shape sensing fiber optic tip protection systems and devices.
A fiber-optic assembly utilizes a secondary mechanical layer and a circuitous or expanded distal tip to enhance shape-sensing capabilities within medical devices.
Turn AI into Your Income Engine
Ready to transform artificial intelligence from a buzzword into your personal revenue generator?
HubSpot’s groundbreaking guide "200+ AI-Powered Income Ideas" is your gateway to financial innovation in the digital age.
Inside you'll discover:
A curated collection of 200+ profitable opportunities spanning content creation, e-commerce, gaming, and emerging digital markets—each vetted for real-world potential
Step-by-step implementation guides designed for beginners, making AI accessible regardless of your technical background
Cutting-edge strategies aligned with current market trends, ensuring your ventures stay ahead of the curve
Download your guide today and unlock a future where artificial intelligence powers your success. Your next income stream is waiting.

Darren R Sherman
Founder and Member Board of Directors at Orchestra BioMed, Inc.

Patent 12576249 – Infusion catheter and balloon catheter system and method.
A vascular lesion treatment system uses a balloon to press a drug-eluting catheter portion against a blood vessel wall for targeted therapeutic delivery.
Andrew Gerrit Huibers
Google Labs, Google Beam, Engineering Manager at Google.


Patent 12578055 – Frame assembly for a three-dimensional video communication system.
A frame assembly uses shared mounting points to position image sensors around a display without mechanical coupling, ensuring alignment despite physical changes.
Marwen Zorgui
Research Engineer.


Patent 12581495 – Mode 1 sidelink resource allocation under network energy saving.
A UE selects and utilizes sidelink transmission resources based on the network energy-saving state of a communicating network entity.
Mark A Schmisseur
Senior Principal Engineer at Intel Corporation.


Patent 12578855 – Remote pooled memory device.
The electronic apparatus logic processes memory operation requests to provide an interface between a far edge device and remote pooled memory hosted at a near edge device.
Recommendations
Advertisement
File with Cash App Taxes
Now that tax season is here, there's no better time to file with Cash App Taxes. It's fast, 100% free, and it only takes a few minutes. Cash App Taxes is a completely free way to file your federal and state taxes-and get your refund*.
Learn about Max Refund Guarantee details and eligibility.
**Learn about Accurate Calculations Guarantee
Disclosure: Our free newsletter and website may include paid placements (labeled “Sponsored,” “Partnered,” or “Ad”) as well as affiliate links. If you click or make a purchase, we may earn a commission. We are not affiliated with the advertisers featured. These partnerships help us keep the newsletter free for our readers.



