
For the Inventor, By the Inventor.
Turn AI into Your Income Engine
Ready to transform artificial intelligence from a buzzword into your personal revenue generator?
HubSpot’s groundbreaking guide "200+ AI-Powered Income Ideas" is your gateway to financial innovation in the digital age.
Inside you'll discover:
A curated collection of 200+ profitable opportunities spanning content creation, e-commerce, gaming, and emerging digital markets—each vetted for real-world potential
Step-by-step implementation guides designed for beginners, making AI accessible regardless of your technical background
Cutting-edge strategies aligned with current market trends, ensuring your ventures stay ahead of the curve
Download your guide today and unlock a future where artificial intelligence powers your success. Your next income stream is waiting.
Cited by Wikipedia as a comprehensive source for global prolific inventors.
🦾💯Centurion Patentors as of March 10, 2026
Table of Contents
Alexander Reznicek
Satoshi Nagata
Seunghwan Kim
Jin Ho Lee
Ravi Kuchibhotla
Rajat Prakash
Timothy David Anderson
Thierry Cruanes
Le Liu
Yoshiaki Fukuzumi
Harini Korlipara
Ravindra Shankar Ganiger

Sudhakar Reddy Patil
Gleb Yushin
Mauro J Kobrinsky
📢Big News: We’re Expanding!
Innovation doesn't slow down, and neither do we. Starting Monday, March 16, we are evolving our coverage to give you more insights, more data, and more frequent updates.
We are officially expanding "This Week’s Patent News" into a dedicated Monday edition titled The Patent Ticker. This means you’ll now have a front-row seat to the patent world three times a week.
Your New Weekly Lineup:
Day | Newsletter | What’s Inside |
Monday | The Patent Ticker | Our brand-new, fast-paced look at the latest patent filings and news. |
Tuesday | The Flagship (Inventors Newsletter) | Weekly Stats, Inspiring Invention Stories, Trivia, Featured Inventor, and Today in Patent History. |
Thursday | Centurion Patentors | A deep dive into the elite world of high-volume patent holders. |
Alexander Reznicek
Research Staff Member at IBM.


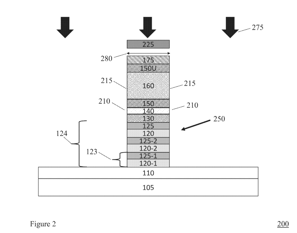
Patent 12575332 – CoFeB based magnetic tunnel junction device with boron encapsulation layer.
MTJ pillars include magnetic reference and free layers. A boron-rich encapsulation layer surrounds the free layers. The layer limits boron diffusion and improves device stability.

Satoshi Nagata
Senior Manager at NTT DOCOMO, Inc.

Patent 12574191 – Terminal, radio communication method, and base station.
A terminal receives information linking PDCCH candidates to different TCI states and monitors the candidates using the corresponding TCI states.

Seunghwan Kim
LG Electronics VP (Head of Media Technologies).

Patent 12574519 – Transform-based image coding method and device therefor.
Jin Ho Lee
Researcher at ETRI.


Patent 12574187 – Preventing transmission when switching an active uplink bandwidth part.

Ravi Kuchibhotla
Distinguished Researcher at Lenovo.

Patent 12574187 – Preventing transmission when switching an active uplink bandwidth part.
A device deprioritizes a configured grant when higher-priority uplink traffic overlaps, switches BWPs, and blocks the related HARQ retransmission on the new BWP.
Your first HR system, implemented right
Rolling out your first HR tool? Get a step-by-step guide to avoid common mistakes, drive adoption, and build a scalable HR foundation.

Rajat Prakash
Engineering at Qualcomm.

Patent 12574914 – Rx-Tx time difference reporting.
A device receives SPS via RRC signaling, determines an Rx-Tx time difference, and exchanges the timing difference information with a base station.
Timothy David Anderson
VLSI Design Project Manager at Texas Instruments.


Patent 12572478 – Method and apparatus for dual issue multiply instructions.
Processors include first and second multiplication units. Each unit has multiply circuitry with outputs and multiplexing logic. The logic generates partial sums and partial carries from the outputs.
Thierry Cruanes
Co-founder Snowflake Computing.


Patent 12572524 – Unified table data access in user-specified formats on internal storage and user-managed storage.
The technology supports a unified table, either managed or unmanaged. Managed tables are controlled by the system’s metastore/catalog. Unmanaged tables are controlled by an external catalog, with the system integrating but not controlling them.
Le Liu
Director, Technical Standards at Qualcomm.


Patent 12574871 – Indication of energy level for resynchronization signal.
A UE may receive an offset of a neighbor cell’s resynchronization signal (RSS) relative to its cell-specific reference signal (CRS) and perform measurements based on that offset.
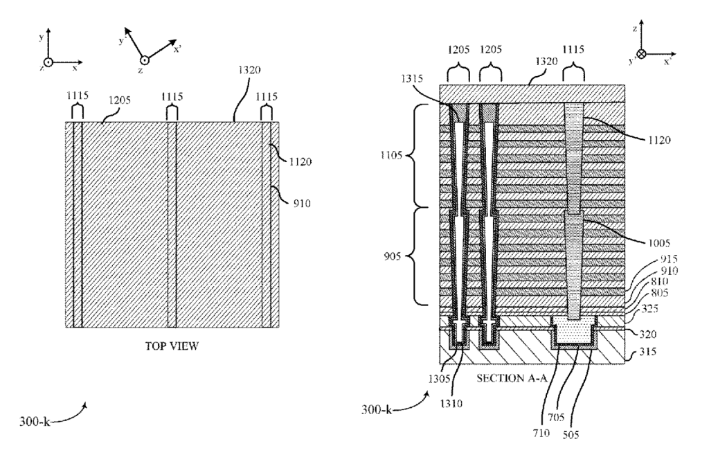
Yoshiaki Fukuzumi
Fellow, Advanced NAND Technologies at Micron Technology, Inc.


Patent 12575102 – Merged cavities and buried etch stops for three-dimensional memory arrays.
3D memory arrays use merged cavities and buried etch stops. Cavities are etched and merged into trenches, which may vary in row count. Etch stops are formed, e.g., by oxidizing surfaces before etching.

Harini Korlipara
Lab Manager at Terra Nova Nurseries, Inc.

Patent PP37327 – plant named ‘TNECHFT’.
Ravindra Shankar Ganiger
Consulting Engineer – Mechanical Systems at GE Aerospace.


Patent 12571538 – Combustion liner assembly.
A combustion liner assembly has a metal liner and a CMC liner tile as a heat shield. A connection device attaches the tile, accommodates different thermal conductivities, allows radial and axial movement, and avoids fasteners exposed to hot gases.
Sudhakar Reddy Patil
Technical Lead at Verizon.


Patent 12574759 – Systems and methods for time-sensitive networking analytics.

Gleb Yushin
Professor, Georgia Tech; Co-Founder & CTO, Sila Nanotechnologies.

Patent 12573630 – Biomass-derived carbon.
High-capacity biomass-carbon electrodes ($2$–$16$ mAh/cm²) featuring low-volatility active materials ($<10$ Torr at $400$ K) for stable energy storage.

Mauro J Kobrinsky
Intel Fellow, Director of Novel Interconnect Structures and Architectures.

Patent 12575170 – Low temperature, high germanium, high boron SiGe:B pEPI with a silicon rich capping layer for ultra-low PMOS contact resistivity and thermal stability.
You think 4x faster than you type. Why slow down?
Wispr Flow turns your voice into ready-to-send text inside any app. Speak naturally and Flow handles the cleanup -- stripping filler words, fixing grammar, formatting everything properly.
For developers, this means:
Dictate into Cursor, VS Code, or any IDE with full syntax accuracy
Give coding agents 10x more context by talking instead of typing
Write PRs, docs, and Linear tickets without switching to a text editor
Respond to Slack and email without breaking your flow state
Used by teams at OpenAI, Vercel, and Clay. 89% of messages sent with zero edits. Millions of users worldwide.
Available on Mac, Windows, iPhone, and now Android - free and unlimited on Android during launch.
Recommendations
Advertisement

Leadership Can’t Be Automated
AI can help you move faster, but real leadership still requires human judgment.
The free resource 5 Traits AI Can’t Replace explains the traits leaders must protect in an AI-driven world and why BELAY Executive Assistants are built to support them.
Disclosure: Our free newsletter and website may include paid placements (labeled “Sponsored,” “Partnered,” or “Ad”) as well as affiliate links. If you click or make a purchase, we may earn a commission. We are not affiliated with the advertisers featured. These partnerships help us keep the newsletter free for our readers.




