
For the Inventor, By the Inventor.
Interested in sponsoring this newsletter: Learn more here
New to IDiyas? Join thousands of intellectually curious readers. Subscribe Here!
Smart Investors Don’t Guess. They Read The Daily Upside.
Markets are moving faster than ever — but so is the noise. Between clickbait headlines, empty hot takes, and AI-fueled hype cycles, it’s harder than ever to separate what matters from what doesn’t.
That’s where The Daily Upside comes in. Written by former bankers and veteran journalists, it brings sharp, actionable insights on markets, business, and the economy — the stories that actually move money and shape decisions.
That’s why over 1 million readers, including CFOs, portfolio managers, and executives from Wall Street to Main Street, rely on The Daily Upside to cut through the noise.
No fluff. No filler. Just clarity that helps you stay ahead.
🦾💯Centurion Patentors as of July 29 2025
Table of Contents
The full version is available here
⭐SURVEY⭐
We value your input. Please take this brief survey to help us enhance your experience.


Kangguo Cheng
Senior Technical Staff Member & Master Inventor at IBM.

Patent 12376503 – Phase change material including deuterium.
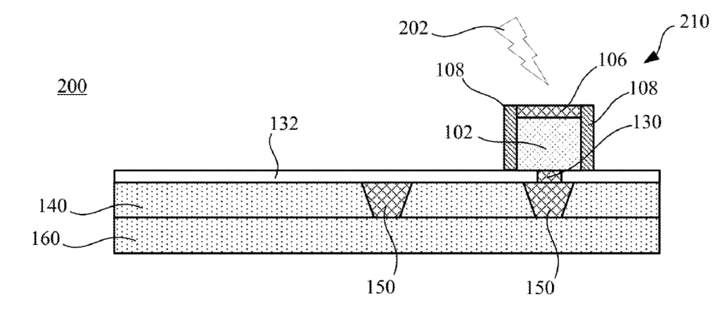
Hydrogen or deuterium in the phase change material (PCM) reduces defects. They passivate dangling bonds. This makes nucleation during the SET process easier.
Jing X Sun
System Engineer at Qualcomm.


Patent 12376153 – Signaling for channel occupancy time sharing in frame based equipment mode.
This disclosure covers FBE mode signaling for COT sharing. A device receives its COT role, checks for a signal at the frame boundary, and then sleeps, monitors, or communicates based on that.
Juan Montojo
VP, Engineering at Qualcomm.


Patent 12376077 – Distributed sidelink resource allocation.
A first device requests data resources from a second device. The second device may respond positively if available. A third device may object with a negative response.
Marine C Bataille
Designer at Apple Inc., based in San Francisco.


Patent D1086130 – Housing portion for head-mounted display.

Patent D1086123 – Electronic device.
Christopher I Wilson
Designer at LoveFrom.


Patent D1086200 – Display screen or portion thereof with graphical user interface.
Used by Execs at Google and OpenAI
Join 400,000+ professionals who rely on The AI Report to work smarter with AI.
Delivered daily, it breaks down tools, prompts, and real use cases—so you can implement AI without wasting time.
If they’re reading it, why aren’t you?
Wooseok Nam
Senior Staff Engineer at Qualcomm.


Patent 12376121 – Rules for multi-slot physical downlink control channel (PDCCH) monitoring in common search space sets.
The device receives configuration for PDCCH monitoring over a group of slots. It selects at least one monitoring occasion from different common search space types based on a rule and monitors it for control signals.
Paul Marinier
Sr Principal Designer at InterDigital Communications.


Patent 12376151 – Shared channel occupancy time operation.
A wireless device monitors LBT subbands to detect COT. It adjusts monitoring based on full or partial COT info. The device uses CAP to interpret grants, apply channel restrictions, and decide which channels to use during COT.
Oghenekome Oteri
Systems Engineering at Apple.


Patent 12376113 – Frequency hopping for physical uplink shared channel (PUSCH) communications.
Tmethod enables frequency hopping for PUSCH in 5G. A device may switch frequencies between slots or repetitions. If symbols are segmented, it may disable hopping and use one frequency. If not segmented, it may apply hopping within the repetition.
Iyab Issam Sakhnini
Wireless Researcher at Qualcomm.


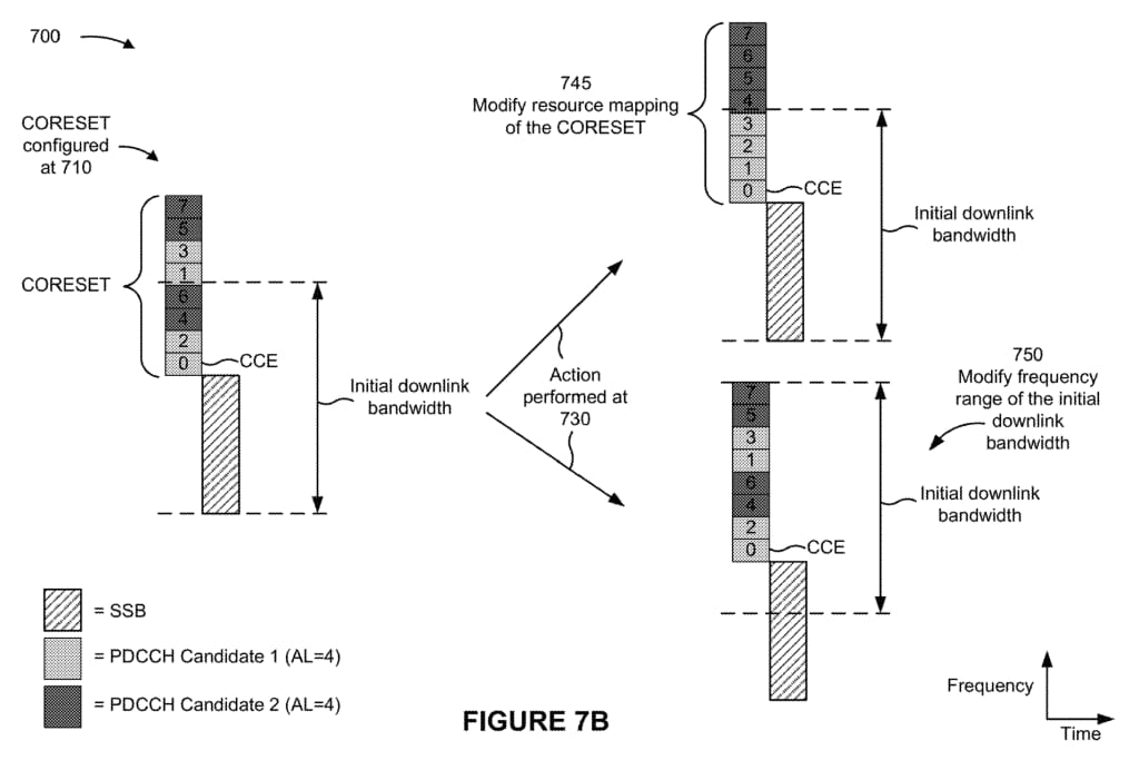
Patent 12376128 – Partial control resource set handling.
A device receives its initial downlink bandwidth and CORESET configuration via a master information block (MIB). If the CORESET’s frequency range is partly outside this bandwidth, the device may adjust the CORESET mapping or the bandwidth to receive control messages.
Kevin M Higgins
Senior Director Casino Architecture at IGT.


Patent 12374192 – Individualized outcomes on wagers placed on a streamed game in a streaming environment.
Systems and methods allow different users to experience unique outcomes from the same game streamed on a live platform. Each viewer interacts independently, enabling personalized results within a shared game stream.
Seeking impartial news? Meet 1440.
Every day, 3.5 million readers turn to 1440 for their factual news. We sift through 100+ sources to bring you a complete summary of politics, global events, business, and culture, all in a brief 5-minute email. Enjoy an impartial news experience.
Joseph M Romano
Advanced Robotics Development | VP of Engineering @ Berkshire Grey.


Patent 12370699 – Systems and methods for providing dynamic vacuum pressure in an articulated arm end effector.
It uses two vacuum sources: one with lower pressure and airflow, and another with higher pressure and greater airflow, allowing flexible control based on task needs.
Brandon T Mock
Design Manager at KitchenAid.


Patent 12372995 – Appliance knob assembly.
An appliance includes a base with a shaft running through its sidewall. A knob is attached outside the base, and a weighted member inside rotates with the shaft. The weight increases the knob’s rotational inertia for smoother operation.

Hing C Wong
Founder & CEO at HCW Biologics.

Patent 12371472 – Multimeric IL-15 soluble fusion molecules and methods of making and using same.
This invention uses ALT-803, an IL-15 superagonist complex, to enhance immune responses against cancers and viral infections like HIV.
Chubing Peng
Technologist at Seagate Technology.


Patent 12374357 – Heat-assisted magnetic recording head with a solid immersion mirror.
A heat-assisted magnetic recording head includes a near-field transducer, waveguide, and a solid immersion mirror made of high-temperature metal (≥1500 °C). The mirror enhances optical focus and durability near the media-facing surface.
Lalith Kumar
Architect at Samsung, 3GPP SA2 Delegate.


Patent 12375987 – Method and apparatus for improvements in and relating to management of a disaster condition in a mobile communication system.
Recommendations:
In Partnership with

Own a share in your own gold mine
This Company with a pre-money valuation of only C$3million is completing a C$3million seed equity raise for the restart of the fully permitted Gold Road mine in Arizona, USA. The current low company valuation offers near-term potential for a significant re-rating from the production start, a public quotation, and an additional one million ounces of gold exploration upside.
The cost to build Gold Road from scratch today would be close to US$100 million and management plans to grow production to 20,000 ounces of gold per year in 2025/26. In a strong gold price environment this could lead to a US$40+million EBITDA in 2026 and potential for a very healthy dividend yield paid in physical gold and silver.
Management has a proven track record and plans to go public in Q1 2026.
Learn More



