
For the Inventor, By the Inventor.
Big dreams deserve big bucks.
We’re putting up a year’s salary for one amazing Creator or Entrepreneur to make their 2026 the Year of the Dream. The challenge is simple. Post a video about your business (or business idea!) and enter for your chance to win $100,000.
We’re not giving this money to just anyone. We want to see authenticity and how your business can positively impact your community. This is about doing good and doing well.
At Stan, we empower people who truly want to work for themselves. To live out their passion. To dare to dream.
The challenge runs until January 31st but we suggest you enter today. You never know when your dream will become a reality.
NO PURCHASE NECESSARY. VOID WHERE PROHIBITED. For full Official Rules, visit daretodream.stan.store/officialrules.
Cited by Wikipedia as a comprehensive source for global prolific inventors.
🦾💯Centurion Patentors as of January 6, 2026

Chih-Hao Wang
Senior Engineer at TSMC.

Patent 12520518 – Semiconductor device structure and methods of forming the same.
The semiconductor device has a source/drain with straight walls. Additionally, a taller dielectric sits next to it.
Mostafa Khoshnevisan
Senior Staff System Engineer at Qualcomm.


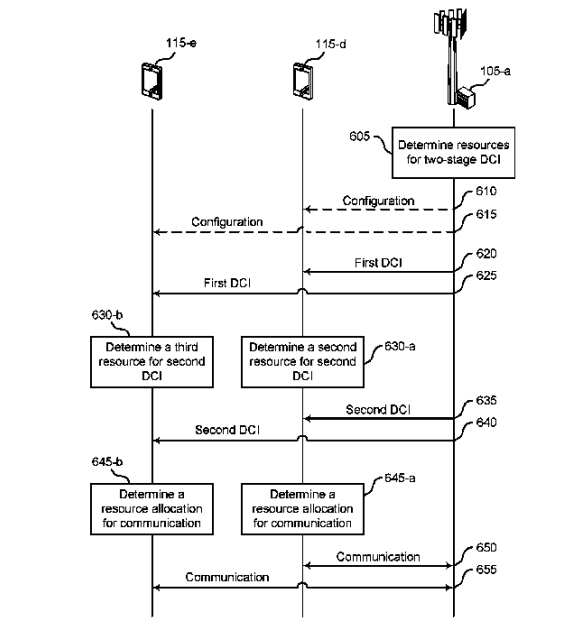
Patent 12520324 – Two-stage downlink control information for scheduling user equipments.
The system uses two-stage DCI. Initial data points to the specific resource. Then, the device retrieves the message.
Jianle Chen
Video Technology Specialist.


Patent 12519964 – Coding method and apparatus.
The method executes video decoding. First, it parses the bitstream for prediction and transform details. Next, it reconstructs the residual data. Finally, the system combines these elements to output the video frame.
Gilbert W Dewey
Senior Research Engineer at Intel Labs.


Patent 12520573 – SiGe:GAB source or drain structures with low resistivity.
The integrated circuit structure utilizes a fin design. Uniquely, the source and drain regions mix silicon, germanium, gallium, and boron. Consequently, the integrated circuit structure achieves ultra-low resistivity.
Kenneth Jason Sanchez
Data science leader.


Patent 12518291 – Preemptive picking of items by an online concierge system based on predictive machine learning model.
The online concierge system utilizes predictive models. First, it forecasts demand using historical data. Then, it moves items to a staging area. Thus, the online concierge system speeds up delivery.

Kevin Grant Osborn
Distinguished Engineer Specializing in Digital Identity and Cryptography.

Patent 12519803 – Token-based message authentication.
The device verifies message authentication. First, it checks a security token. Then, it confirms the source validity.
Smarter CX insights for investors and founders
Join The Gladly Brief for insights on how AI, satisfaction, and loyalty intersect to shape modern business outcomes. Subscribe now to see how Gladly is redefining customer experience as an engine of growth—not a cost center.

Guillermo J Tearney
An American pathologist co-invented Intracoronary optical coherence tomography.

Patent 12518875 – Near-infrared autofluorescence imaging systems and methods.
The method identifies a severe atheromatous plaque. First, it scans an artery with light. Then, it pinpoints the risk area.

Paul Xiaopeng Wang
Senior Manager, Product Design.

Patent 12517690 – Cross device interactions.
The system controls cross-device input. A second unit sits on the main screen. Depending on focus, the correct display responds.
Wei-Yang Lee
R&D engineer at TSMC.


Patent 12520560 – Selective gate air spacer formation.
The semiconductor device includes a vertical gate structure. Uniquely, an air spacer sits adjacent to it. Thus, the semiconductor device maintains a distinct vertical boundary.
Chih-Liang Chen
Doctor of Philosophy; Professor at National Taiwan University.


Patent 12520596 – Method for semiconductor manufacturing and system for arranging a layout.
The method optimizes semiconductor manufacturing. First, it groups specific pattern features. Next, it identifies compatible cell units. Finally, the semiconductor manufacturing sequence aligns these sets.

Ahmad Reza Hedayat
Wireless Systems Architect, WiFi Standards.

Patent 12519683 – Aggregated HE control content in A-MPDU.
The AP coordinates the uplink transmission. Specifically, it transmits matching trigger data. Consequently, the uplink transmission stays synchronized.

Seonkeun Park
Vice President at Samsung Electronics Service.

Patent 12517641 – Slidable electronic device and control method therefor.
The device controls a flexible display. Initially, it detects a user input. Then, a visual indicator appears. Finally, the flexible display slides open.
Amit Mitkar
Director, Engineering | Linux Geek.


Patent 12519693 – Replicating functionality and data of a primary computing device onto a virtual machine.
The system clones a device to a virtual machine. First, it copies the data. Next, it calculates the optimal settings. Consequently, the virtual machine launches on a suitable host. Finally, specific policies secure the storage.
Philip John Jakes
Driving amazing innovation for Lenovo PC products.


Patent 12519107 – Lithium-ion cell.
The method produces a lithium-ion electrode. First, it prepares two specific particle pre-mixes. Then, these mixtures coat a substrate. Finally, the lithium-ion electrode achieves the desired particle distribution.
Christian Maciocco
Sr. Principal Engineer & Sr. Director – Telecom Systems Research at Intel Labs.


Patent 12519568 – Semantic network data correction.
The system utilizes semantic data. Occasionally, network errors corrupt packets. Therefore, semantic data fixes the ambiguity. This ensures accurate content.

Stop planning. Start building. With beehiiv, this the end of the year is a great time to get ahead. Build a website with AI, launch a newsletter in minutes, and start earning through the Ad Network. Use code BIG30 for 30 percent off your first three months. Start building for 20 percent off today.
Advertisement
File crypto taxes in minutes
Easily import you crypto transactions and file your taxes in minutes with TurboTax, H&R Block, or your own tax professional. Save time and maximize your refund using our crypto tax software.
Disclosure: Our free newsletter and website may include paid placements (labeled “Sponsored,” “Partnered,” or “Ad”) as well as affiliate links. If you click or make a purchase, we may earn a commission. We are not affiliated with the advertisers featured. These partnerships help us keep the newsletter free for our readers.



