
For the Inventor, By the Inventor.
AI in HR? It’s happening now.
Deel's free 2026 trends report cuts through all the hype and lays out what HR teams can really expect in 2026. You’ll learn about the shifts happening now, the skill gaps you can't ignore, and resilience strategies that aren't just buzzwords. Plus you’ll get a practical toolkit that helps you implement it all without another costly and time-consuming transformation project.
Cited by Wikipedia as a comprehensive source for global prolific inventors.
🦾💯Centurion Patentors as of January 27, 2026
Table of Contents
Kapil Gulati
Xue Dong
Jongseob Baek
Saravanan Sethuraman
Siva P Adusumilli
Dirk Albertus Van Der Merwe
Jose Porchia
Kai Cheng
Jerome Miles
Jawad Basit Khan
Ghassan Karame
Rajko Ilincic

Sailesh B Krishnamurthy
Omkar G Karhade
Wei Cao
Ready to file? Get a fast, free quote from our network of registered practitioners.
Interested in joining our network of registered practitioners? Please contact us here.
Kapil Gulati
Principal Engineer.


Patent 12538343 – Communication based on radio signal measurements.
Receiving UEs measure signal strength and send feedback as needed, while transmitting UEs send group messages based on range and use HARQ signal strength to decide retransmission.

Xue Dong
Development Director at BOE OT.

Patent 12538038 – Image acquisition method and device, and electronic device.
A device with multiple cameras receives eye position data, selects a subset of cameras based on that position, and captures images using the selected cameras.
Jongseob Baek
Professional Engineer.


Patent 12538256 – Method and device for transmitting or receiving positioning-related signal by terminal in wireless communication system supporting sidelink.
A device receives slot configuration and a request PRS, selects a response slot, and transmits a response PRS with positioning information if the slots are time-continuous.

Saravanan Sethuraman
Principal Engineer | Memory Systems Architect | Centurion Inventor.

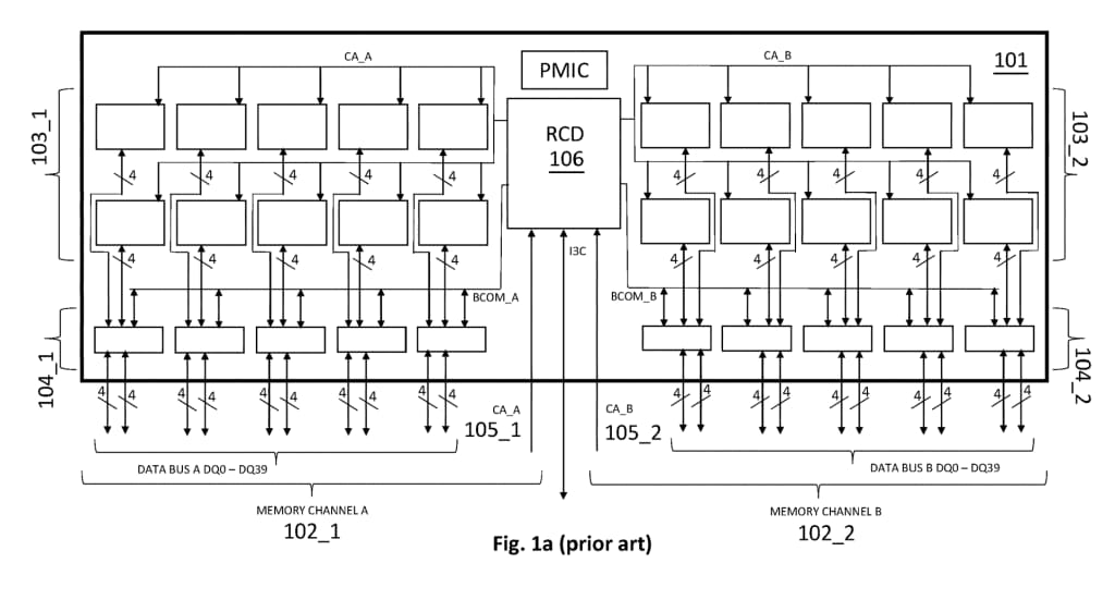
Patent 12531098 – Memory module based data buffer communication bus training.
The apparatus includes an RCD chip that trains a buffer interface by sweeping clock phases, collecting results, and selecting an optimal clock phase.

Siva P Adusumilli
Silicon Photonics Development | Kilby Labs @ Texas Instruments.

Patent 12538501 – Structure providing poly-resistor under shallow trench isolation and above high resistivity polysilicon layer.
The method forms STI, creates buried polysilicon layers by doping and conversion, and adds contacts to the doped buried layer.

Dirk Albertus Van Der Merwe
Robotics and control system lead.

Patent 12533971 – Mobility device control system.
The mobility device adapts steering and speed. It supports varying user weights. Stability, traction, and redundancy improve safety.
AI-native CRM
“When I first opened Attio, I instantly got the feeling this was the next generation of CRM.”
— Margaret Shen, Head of GTM at Modal
Attio is the AI-native CRM for modern teams. With automatic enrichment, call intelligence, AI agents, flexible workflows and more, Attio works for any business and only takes minutes to set up.
Join industry leaders like Granola, Taskrabbit, Flatfile and more.

Jose Porchia
Research Fellow – Products and Process Research / Licensing.

Patent 12534271 – Storage bag with visually distinct features providing the bag with an asymmetric appearance.
The storage bag has visually distinct, asymmetric features that guide grasping for opening and aid manufacturing.

Kai Cheng
Founder and CEO of Enkris.

Patent 12538766 – Composite substrate and preparation method thereof, and semiconductor device structure.
The composite substrate has a stacked AlN high-resistance layer that reduces stress, prevents Al diffusion, improves crystal quality, and enhances stability and reliability.

Jerome Miles
Project Manager at Hall Labs; Founder of DT Robotics LLC.

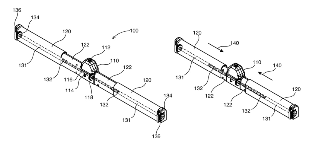
Patent 12534949 – Automated window mechanism with security feature.
An automated window uses a motor to move a sliding panel and detects external forces, opposing them to prevent unwanted movement.
Jawad Basit Khan
Principal Engineer at Intel Corporation.


Patent 12535972 – Avoiding partition collisions in stochastic associative memory for data stored across multiple partitions.
Binary sparse encoding reduces data read from stochastic associative memory. Optimized access patterns and cluster-aware sharding with DIMM replication improve read performance and query throughput.

Ghassan Karame
Professor of Computer Science at Ruhr University Bochum.

Patent 12536010 – Method and system for supporting smart contracts in a blockchain network.
The method analyzes smart contract code using an abstract syntax tree and code property graph to detect and patch vulnerabilities, improving contract security.
Rajko Ilincic
Head of Innovation at U.S. News Ventures.


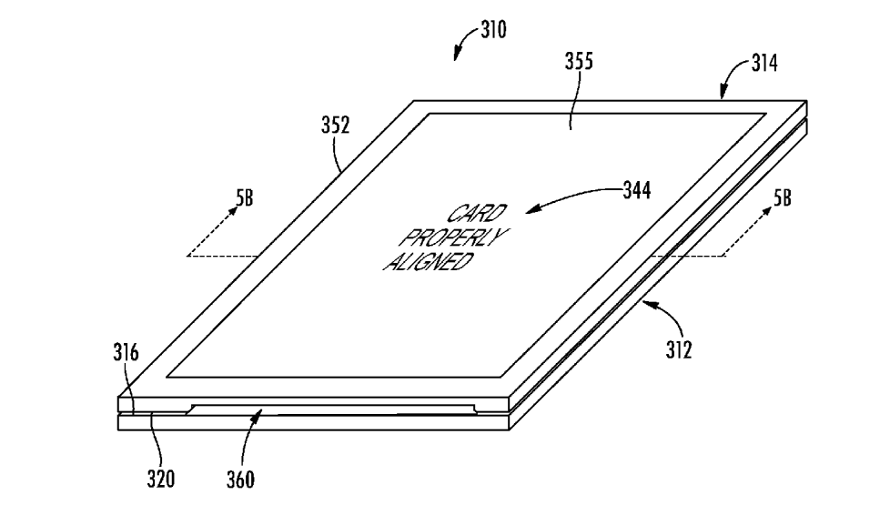
Patent 12536392 – Devices and methods for contactless card alignment with a foldable mobile device.
A foldable mobile device has an interior screen and an alignment feature that positions a contactless card, which is exposed when unfolded and covered when folded.
Sailesh Bharathwaaj Krishnamurthy
Head – AI Center of Excellence, Innovation and Engineering at 7-Eleven.


Patent 12536683 – System and method for confirming the identity of an item based on item height.
A device captures an image, encodes it, checks identity confidence, measures height if needed, and matches the item to similar items using encoded vectors.

Omkar G Karhade

Patent 12538841 – Quasi-monolithic die architectures.
The assembly has stacked dies. Interconnects link the dies. Vias and dielectric layers manage connections. A substrate supports the structure.

Wei Cao
Senior pre-research expert at ZTE Corporation.

Patent 12538311 – System and method for transmission indications.
A system transmits control information from a wireless node to a device during uplink or downlink gaps.
Will Your Retirement Income Last?
A successful retirement can depend on having a clear plan. Fisher Investments’ The Definitive Guide to Retirement Income can help you calculate your future costs and structure your portfolio to meet your needs. Get the insights you need to help build a durable income strategy for the long term.
Disclosure: Our free newsletter and website may include paid placements (labeled “Sponsored,” “Partnered,” or “Ad”) as well as affiliate links. If you click or make a purchase, we may earn a commission. We are not affiliated with the advertisers featured. These partnerships help us keep the newsletter free for our readers.




