
For the Inventor, By the Inventor.
How much could AI save your support team?
Peak season is here. Most retail and ecommerce teams face the same problem: volume spikes, but headcount doesn't.
Instead of hiring temporary staff or burning out your team, there’s a smarter move. Let AI handle the predictable stuff, like answering FAQs, routing tickets, and processing returns, so your people focus on what they do best: building loyalty.
Gladly’s ROI calculator shows exactly what this looks like for your business: how many tickets AI could resolve, how much that costs, and what that means for your bottom line. Real numbers. Your data.
Cited by Wikipedia as a comprehensive source for global prolific inventors.
🦾💯Centurion Patentors as of January 13, 2026

The system manages delivery services. It syndicates orders to multiple providers. Thus, it optimizes fulfillment options.
Howard W Lutnick
The 41st U.S. Secretary of Commerce under President Donald J. Trump. A former Wall Street titan who co-chaired the presidential transition team to build the Cabinet, he previously spent decades leading global giants like Cantor Fitzgerald, BGC Group, and Newmark.

Patent 12525086 – Multi-system distributed processing of delivery and/or referral information for orders.
Hung Dinh Ly
Qualcomm Wireless Research.


Patent 12526742 – Sidelink communication techniques based on network link energy savings modes.
The device coordinates sidelink operation. It detects the network link status. Then, it adjusts the sidelink operation behavior.
Gabi Sarkis
Systems Engineer.


Patent 12526800 – Resource information forwarding for distributed sidelink.
The device optimizes the resource information forwarding message. First, it determines a maximum size. Consequently, it transmits an efficient resource information forwarding message.
Jung Ho Ryu
Staff Engineer.


Patent 12526030 – Capability indication for a mechanical displacement at a customer premises equipment.
The Customer Premises Equipment reports a mechanical displacement capability. Subsequently, it executes a radio optimization. Thus, the Customer Premises Equipment adjusts physically to improve performance.
Yu-Ming Lin
Director at TSMC.


Patent 12527049 – Transistor with fin structure and nanosheet and fabricating method of the same.
The transistor integrates a fin structure with a nanosheet. First, a gate sits on the base fin. Additionally, a second gate surrounds the upper nanosheet. Thus, the transistor utilizes a stacked channel design.
Shelesh Chopra
Senior Director of Software Engineering at Dell Technologies.


Patent 12524310 – Restoring configuration files to rollback agent updates when cluster updates fail.
The system manages the application agent update. First, it enables maintenance mode. Then, it backs up critical files. Finally, if the update fails, it reverts changes.
Advertisement
What investment is rudimentary for billionaires but ‘revolutionary’ for 70,571+ investors entering 2026?
Imagine this. You open your phone to an alert. It says, “you spent $236,000,000 more this month than you did last month.”
If you were the top bidder at Sotheby’s fall auctions, it could be reality.
Sounds crazy, right? But when the ultra-wealthy spend staggering amounts on blue-chip art, it’s not just for decoration.
The scarcity of these treasured artworks has helped drive their prices, in exceptional cases, to thin-air heights, without moving in lockstep with other asset classes.
The contemporary and post war segments have even outpaced the S&P 500 overall since 1995.*
Now, over 70,000 people have invested $1.2 billion+ across 500 iconic artworks featuring Banksy, Basquiat, Picasso, and more.
How? You don’t need Medici money to invest in multimillion dollar artworks with Masterworks.
Thousands of members have gotten annualized net returns like 14.6%, 17.6%, and 17.8% from 26 sales to date.
*Based on Masterworks data. Past performance is not indicative of future returns. Important Reg A disclosures: masterworks.com/cd

Jing Wang
Senior Project Manager, Senior Researcher DOCOMO Beijing Labs.

Patent 12526820 – Terminal, radio communication method, and base station.
The terminal determines the TCI state. It receives configuration data for multiple channels. Then, it uses control information to select the specific state. Thus, the TCI state establishes the QCL parameters.
Paul Dennis Trokhan
Senior Innovator at Procter and Gamble.


Patent 12521322 – Foaming oral care compositions.
The oral care composition features a high-surfactant formula. Specifically, it utilizes a unit-dose format. Additionally, web-forming materials and sugar alcohols create the structure. Thus, the oral care composition yields high foaming efficiency.
Qing Li
Wireless R&D System Engineer at Qualcomm.


Patent 12526874 – Sidelink transmissions enabled by receiver user-equipment (UE).
The first UE controls data reception. First, it transmits an enable signal. Consequently, the second UE enters an active mode. Finally, the first UE monitors for the data.
Giwon Park
Principal Engineer at WILUS Inc.


Patent 12526875 – Method and device for selecting transmission resource on basis of SL DRX HARQ RTT timer operation of reception device in NR V2X.

Umesh Phuyal
Director, Technical Standards at Qualcomm.
Patent 12526829 – Preconfigured uplink resource techniques in wireless communications.
The system supports preconfigured uplink resources (PUR). First, the network advertises availability. Next, the device requests an allocation. Finally, the response confirms the specific settings.
Rajinder Dhindsa
Vice President, Plasma Etch Product & Technology Development at Applied Materials.


Patent 12525441 – Plasma chamber and chamber component cleaning methods.
The method preferentially cleans the substrate support. First, it generates plasma. Then, a pulsed voltage waveform directs the effect. Thus, the edge ring receives targeted treatment.
Advertisement
Learn how to make AI work for you
AI won’t take your job, but a person using AI might. That’s why 1,000,000+ professionals read The Rundown AI – the free newsletter that keeps you updated on the latest AI news and teaches you how to use it in just 5 minutes a day.

Grant Larson
Porsche Designer.

Patent D1109018 – Motor vehicle, toy and/or replica.
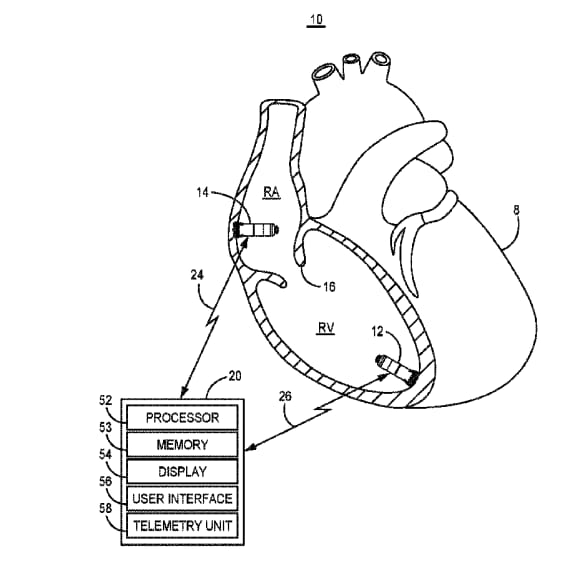
Saul E Greenhut
Sr. Prin. Systems Engineer at Medtronic.


Patent 12521560 – Medical device and method for enabling a cardiac monitoring feature.
The medical device evaluates cardiac activity. It compares the signal against expected rhythm criteria. Consequently, it activates the specific monitoring feature.

JoeBen Bevirt
Founder at Joby Aviation.

Patent 12522345 – Electric vertical take-off and landing aircraft.
The aerial vehicle utilizes rotating rotors. It switches from vertical takeoff to horizontal flight. Thus, the aerial vehicle adapts to the flight mode.

Joel Christopher Rosson
Development Associate -Optical Connectivity at Corning Incorporated.

Patent 12523824 – Terminals having optical connection ports with securing features providing stable retention forces and methods of making the same.
The terminal secures its connection ports. A resilient member biases the locking feature. Thus, the plug remains firmly retained.
Advertisement
File crypto taxes in minutes
Easily import you crypto transactions and file your taxes in minutes with TurboTax, H&R Block, or your own tax professional. Save time and maximize your refund using our crypto tax software.
Disclosure: Our free newsletter and website may include paid placements (labeled “Sponsored,” “Partnered,” or “Ad”) as well as affiliate links. If you click or make a purchase, we may earn a commission. We are not affiliated with the advertisers featured. These partnerships help us keep the newsletter free for our readers.



