
For the Inventor, By the Inventor.
The Future of Tech. One Daily News Briefing.
AI is moving faster than any other technology cycle in history. New models. New tools. New claims. New noise.
Most people feel like they’re behind. But the people that don’t, aren’t smarter. They’re just better informed.
Forward Future is a daily news briefing for people who want clarity, not hype. In one concise newsletter each day, you’ll get the most important AI and tech developments, learn why they matter, and what they signal about what’s coming next.
We cover real product launches, model updates, policy shifts, and industry moves shaping how AI actually gets built, adopted, and regulated. Written for operators, builders, leaders, and anyone who wants to sound sharp when AI comes up in the meeting.
It takes about five minutes to read, but the edge lasts all day.
🦾💯Centurion Patentors as of February 3, 2026
Table of Contents
Sony Akkarakaran
Huaning Niu
Christopher Michael Jones
Walter L Moden
Jason Crabtree
Jun Xu
Timothy Mowry Hollis
Hatim T Allawi
Brian Patrick Costello
Jianchao Yang
Cedric Lichtenau
Ahmed Elsayed Fouda
Charles Bernardo Almy
Scott Louis Frederick
Mark David Lowenthal

Ready to file? Get a fast, free quote from our network of registered practitioners.

Sony Akkarakaran
Senior Staff Engineer at Qualcomm.

Patent №: 12543200 – Beamformed channel busy ratio.
A UE measures and reports per-beam channel busy ratios and uses this information to select beams for sidelink transmission and reception.

Huaning Niu
Wireless system engineer.

Patent 12543220 – Sidelink control information (SCI) in new radio (NR) unlicensed.
A UE operates in unlicensed spectrum, acquires COT for sidelink, and signals COT sharing using first- and second-stage SCI.
Christopher Michael Jones
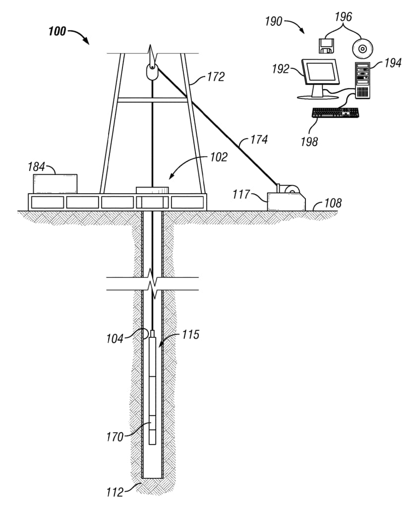
Research Manager-Sensor Physics at Halliburton.


Patent 12540546 – Identifying asphaltene precipitation and aggregation with a formation testing and sampling tool.
The method samples reservoir fluid downhole, changes pressure to trigger asphaltene phase transitions, measures the fluid, and determines fluid composition.

Walter L Moden
Principal Packaging Design Engineer at Micron Technology.

Patent 12543261 – Solder mask fault fiber optics sensor.
A processor detects PCB coating faults by sending light through embedded waveguides and identifying disruptions in the output beam.

Jason Crabtree
CEO at QOMPLX.

Patent 12542816 – Complex IT process annotation, tracing, analysis, and simulation.
The system models and simulates IT processes to analyze performance, risk, resilience, and overall system health.
Jun Xu
Director of Channel Coding and Modulation Research Team at ZTE.


Patent 12543113 – Method for a relaxed UE processing time.
The method sends UE capability information, determines UE processing time, and performs transmissions based on that processing time.

Timothy Mowry Hollis
Fellow – Interface Pathfinding.

Patent 12542167 – Voltage adjustment based on pending refresh operations.
A memory device tracks pending refresh operations and adjusts its supply voltage to prepare for performing those refreshes.

Peng Hui Jiang
Master Inventor, Senior Software Engineer at IBM.

Patent 12541397 – Uniform thread management based on utilizing module templates with libraries accordeng to storage area template.
A storage area template allocates and manages memory for multiple threads and libraries uniformly, simplifying thread management and reducing resource costs.

Hatim T Allawi
Senior Vice President, Research & Technology Development at Exact Sciences.

Patent 12540360 – DETECTING BREAST CANCER.

Brian Patrick Costello
Business Development Manager.

Patent 12542402 – Shielding structure for a card edge connector.
The card edge connector has a housing with a card slot, a contact array for signal mating, and ground shields between contact pairs that connect to module ground pads.
Jianchao Yang
Head of Multimodal Foundation Model at ByteDance.


Patent 12541895 – Method and apparatus for processing portrait image.
The method processes a portrait by smearing the hair area with a trained model, applies a head effect, and displays the enhanced image.
Cedric Lichtenau
IBM Chief Architect for AI Acceleration on IBM Z, Core Architect, Master Inventor.


Patent 12541572 – Accelerating decision tree inferences based on complementary tensor operation sets.
A tensor representation for machine learning inference is built by forming and ranking complementary tensor subsets based on decision tree leaf and split node data.
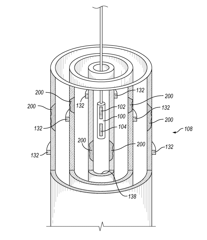
Ahmed Elsayed Fouda
R&D Manager – Electromagnetics at Halliburton.


Patent 12541036 – Multi-channel machine learning model-based inversion.
The method uses an EM logging tool to transmit a field, measure eddy currents in a pipe, and estimate pipe properties from the measurements.

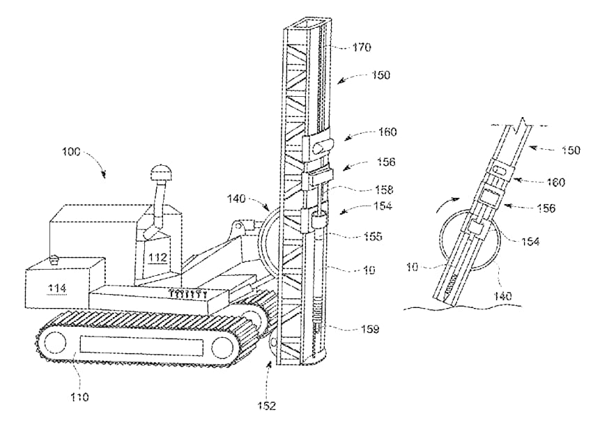
Charles Bernardo Almy
Senior Director of Engineering, Foundations.

Patent 12540447 – Systems, methods, and machines for automated screw anchor driving.
The machine calculates a screw anchor depth, drives it automatically, and may stop early to save material if pull-out strength is met.

Scott Louis Frederick
Senior Principal Engineer at Toyota Motor Engineering & Manufacturing North America.

Patent 12539818 – Collapsible tailgate-mounted storage container.
A stowable collapsible container fits in a truck tailgate, aligns with the truck bed when deployed, and is secured with an attachment assembly.

Mark David Lowenthal
VP Applied Research at Nth Degree Technologies.

Patent 12539432 – Oral treatment device.
The oral treatment device uses a mouthpiece with a flexible lamp assembly that emits light onto teeth, optionally for teeth whitening.
Become An AI Expert In Just 5 Minutes
If you’re a decision maker at your company, you need to be on the bleeding edge of, well, everything. But before you go signing up for seminars, conferences, lunch ‘n learns, and all that jazz, just know there’s a far better (and simpler) way: Subscribing to The Deep View.
This daily newsletter condenses everything you need to know about the latest and greatest AI developments into a 5-minute read. Squeeze it into your morning coffee break and before you know it, you’ll be an expert too.
Subscribe right here. It’s totally free, wildly informative, and trusted by 600,000+ readers at Google, Meta, Microsoft, and beyond.
Advertisement
You Can't Automate Good Judgement
AI promises speed and efficiency, but it’s leaving many leaders feeling more overwhelmed than ever.
The real problem isn’t technology.
It’s the pressure to do more with less — without losing what makes your leadership effective.
BELAY created the free resource 5 Traits AI Can’t Replace & Why They Matter More Than Ever to help leaders pinpoint where AI can help and where human judgment is still essential.
At BELAY, we help leaders accomplish more by matching them with top-tier, U.S.-based Executive Assistants who bring the discernment, foresight, and relational intelligence that AI can’t replicate.
That way, you can focus on vision. Not systems.
Disclosure: Our free newsletter and website may include paid placements (labeled “Sponsored,” “Partnered,” or “Ad”) as well as affiliate links. If you click or make a purchase, we may earn a commission. We are not affiliated with the advertisers featured. These partnerships help us keep the newsletter free for our readers.


