
For the Inventor, By the Inventor.
Better prompts. Better AI output.
AI gets smarter when your input is complete. Wispr Flow helps you think out loud and capture full context by voice, then turns that speech into a clean, structured prompt you can paste into ChatGPT, Claude, or any assistant. No more chopping up thoughts into typed paragraphs. Preserve constraints, examples, edge cases, and tone by speaking them once. The result is faster iteration, more precise outputs, and less time re-prompting. Try Wispr Flow for AI or see a 30-second demo.
Cited by Wikipedia as a comprehensive source for global prolific inventors.
🦾💯Centurion Patentors as of February 24, 2026
Table of Contents
Xiaoxia Zhang
Shan Liu
Julian Hoenig
Hong He
Jing Jiang
Kyle Maroney
Graham P Lidgard
Sunil Ramesh
Paul Y Moreton
Dimitrios Karampatsis
Hanyang Wang
Frederick W Vook
Debashis Ghosh

Xiaoxia Zhang
Dr. at Qualcomm Incorporated.


Patent 12563531 – Resource configuration and reservation for sidelink communications.
Wireless communication techniques enable sidelink data transmission using frequency hopping.
Feedback from user equipment supports efficient resource selection and reduced interference.
Shan Liu
Distinguished Scientist | Editor-in-Chief.


Patent №: 12563233 – CTU-row based geometric transform.
A video bitstream is received, different geometric transforms are applied to respective sample groups of a picture, and the picture is reconstructed based on the transforms.

Julian Hoenig
Designer · Founder · Advisor — Amble | Former Apple Design Team.

Patent D1114796 – Electronic device.
Hong He
Standards Engineer at Apple.


Patent 12563504 – Full power transmission signaling for coherent user equipment.
A user equipment establishes a network connection, exchanges capability indicators, receives configuration instructions, and operates in designated coherency and full power transmission modes.
Jing Jiang
Wireless System Engineer.


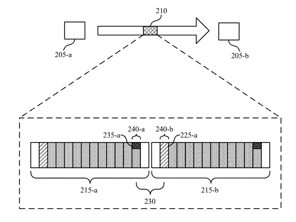
Patent 12562947 – Glue reference signals for joint channel estimation across a phase jump boundary.
A wireless device multiplexes reference signals and shared data across symbols around a phase jump boundary and transmits them using DFT-s-OFDM, enabling another device to perform joint channel estimation using phase estimates from both symbols.
Kyle Maroney
VP of Software Engineering at Berkshire Grey.


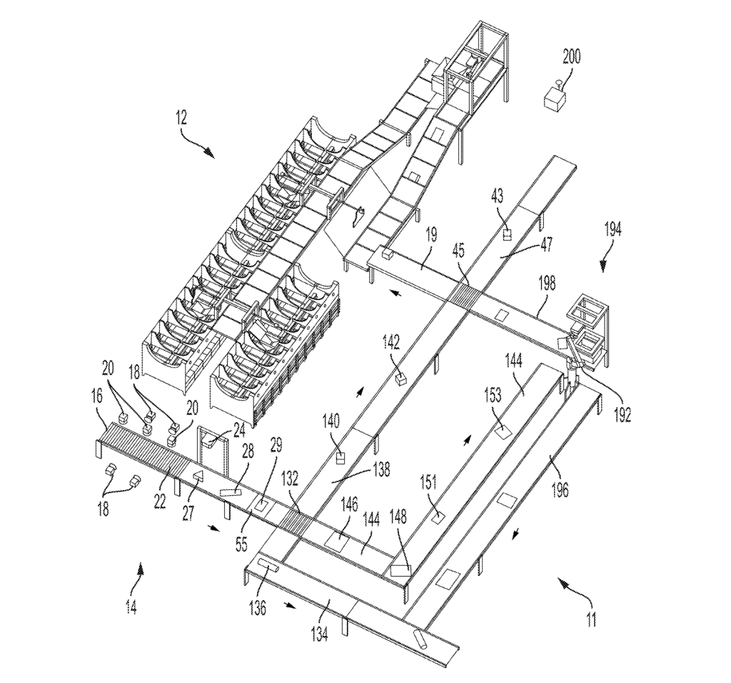
Patent 12561538 – Systems and methods for separating objects using vacuum diverts with one or more object processing systems.
The distribution system directs objects from a conveyor to multiple receiving units using an air intake system that moves objects to adjacent transport units.
Advertisement
Real-World Ads, Simple to Run
With AdQuick, executing Out Of Home campaigns is as easy as running digital ads. Plan, deploy, and measure your real-world advertising effortlessly—so your team can scale campaigns and maximize impact without the headaches.

Graham P Lidgard
Chief Scientific Officer, Emeritus at Exact Sciences.

Patent RE50806 – DETECTING BREAST CANCER
Sunil Ramesh
Director, Advanced Development at Roku.


Patent 12563262 – Media system with presentation area data analysis and segment insertion feature.
A media device identifies an audience engagement region on the screen, selects a media segment based on that region, and inserts the segment at a determined point in the media program.
Paul Y Moreton
Leading Digital Product Innovation.


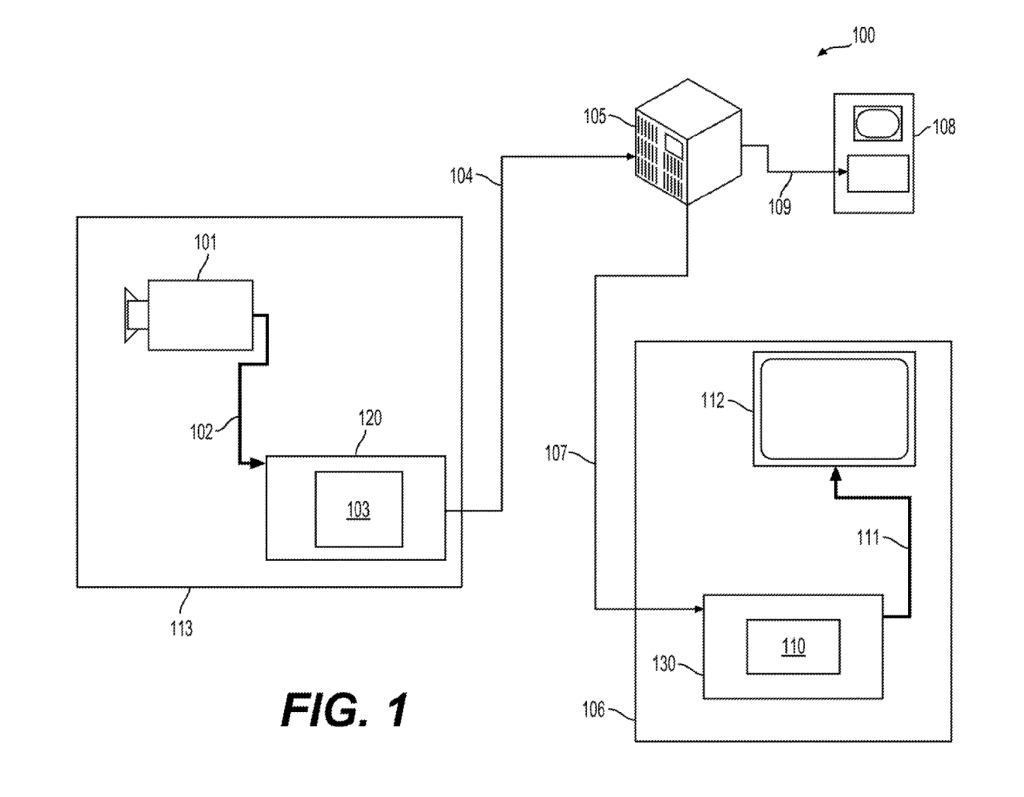
Patent 12563023 – Browser extension for limited-use secure token payment.
A browser extension system detects a payment field, generates a secure token for a financial account, authenticates via a second device, and populates the payment field with the token.

George Michel Mansour
Sr. Director, Vascular Access R&D & Infusion Consumables Innovation.

Patent 12558481 – Medication delivery system with control valve.
A valve in a medication delivery system has a body with three flow paths and a valve element that connects the first flow path to either the second flow path for priming or the catheter flow path for dispensing.
Dimitrios Karampatsis
Senior Systems Researcher, 5G Wireless at Lenovo UK & Ireland.


Patent 12562963 – Updating an application data set with N6-LAN steering information.
The system receives an external UE identifier and N6-LAN steering info from an application, translates it to a permanent subscription ID, and updates the network with the steering information for the UE’s traffic.

Hanyang Wang
Chief Antenna Expert at Huawei Device Limited.

Patent 12562477 – Antenna and electronic device.
The antenna has two parallel radiators with staggered ends, both connected to a common feed point.

Frederick W Vook
Distinguished Member of the Technical Staff at Nokia.

Patent 12562799 – Radio beam configuration.
A set of antenna elements is selected, a radio beam codebook is determined, a radiation pattern is evaluated, a beam configuration meeting a criterion is chosen, and applied to the antenna set.
Debashis Ghosh
Founder of IDiyas. The Global Inventor and Patent Intelligence Platform. Wikipedia Cited Source for Inventor Rankings.


Patent 12563033 – Systems and methods for simultaneous machine multifactor authentication.
A system receives multiple machine authentication factors simultaneously over different channels, verifies them in parallel, and authorizes actions upon successful verification.
Advertisement
Here’s an un-boring way to invest that billionaires have quietly leveraged for decades
If you have enough money that you think about buckets for your capital…
Ever invest in something you know will have low returns—just for the sake of diversifying?
CDs… Bonds… REITs… :(
Sure, these “boring” investments have some merits. But you probably overlooked one historically exclusive asset class:
It’s been famously leveraged by billionaires like Bezos and Gates, but just never been widely accessible until now.
It outpaced the S&P 500 (!) overall WITH low correlation to stocks, 1995 to 2025.*
It’s not private equity or real estate. Surprisingly, it’s postwar and contemporary art.
And since 2019, over 70,000 people have started investing in SHARES of artworks featuring legends like Banksy, Basquiat, and Picasso through a platform called Masterworks.
23 exits to date
$1,245,000,000+ invested
Annualized net returns like 17.6%, 17.8%, and 21.5%
My subscribers can SKIP their waitlist and invest in blue-chip art.
Investing involves risk. Past performance not indicative of future returns. Reg A disclosures at masterworks.com/cd
Advertisement
Transform Your Health with TruDiagnostic
Take control of your health with the most comprehensive at-home blood test available. TruDiagnostic analyzes over 185 biomarkers from a single finger prick of blood, providing personalized recommendations for the most impactful changes you can make today.
Discover your biological age, understand the pace at which you’re aging, and get a detailed action plan tailored to your body. All from the comfort of home. IDiyas readers get 20% off with code NEWSLETTERS20
Disclosure: Our free newsletter and website may include paid placements (labeled “Sponsored,” “Partnered,” or “Ad”) as well as affiliate links. If you click or make a purchase, we may earn a commission. We are not affiliated with the advertisers featured. These partnerships help us keep the newsletter free for our readers.




