
For the Inventor, By the Inventor.
Speak fuller prompts. Get better answers.
Stop losing nuance when you type prompts. Wispr Flow captures your spoken reasoning, removes filler, and formats it into a clear prompt that keeps examples, constraints, and tone intact. Drop that prompt into your AI tool and get fewer follow-up prompts and cleaner results. Works across your apps on Mac, Windows, and iPhone. Try Wispr Flow for AI to upgrade your inputs and save time.
Cited by Wikipedia as a comprehensive source for global prolific inventors.
🦾💯Centurion Patentors as of February 10, 2026
Table of Contents
Eugene Antony Whang
Jody R Akana
Ruilong Xie
Chih-Chao Yang
Marine C Bataille
Hiroki Harada
Parminder Singh Sethi
Venkatesh Krishnan
Vihar C Surti
Kyle Jonathan Doerksen
Ashok K Santra
Magne H Nerheim
Lionel Ernest Edwin

Chulwoo Oh
Matthew J Velderman
Violeta Cakulev
Yen-Liang Lin

Eugene Antony Whang
Industrial designer.

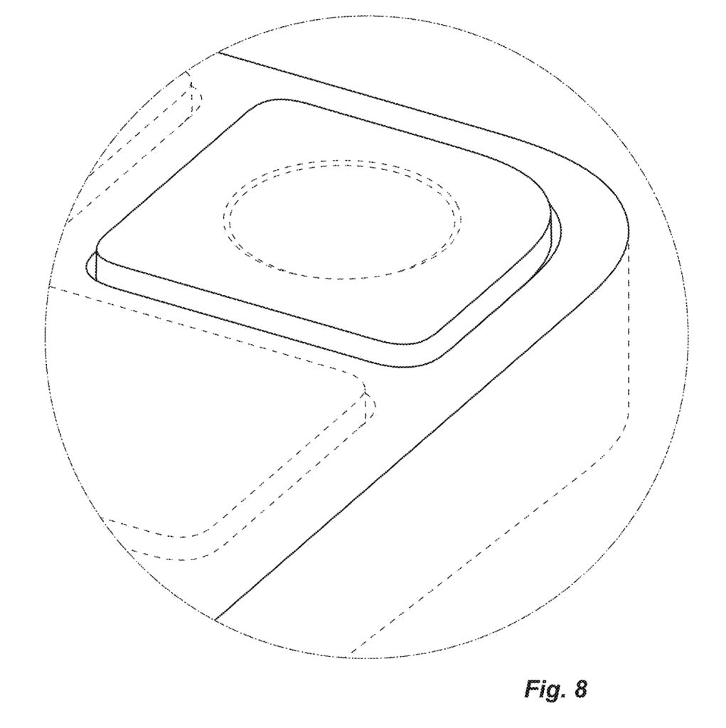
Patent D1112363 – Electronic device.

Jody R Akana
Technology inventor and designer.

Patent D1112216 – Keyboard.

Ruilong Xie
Research Engineer at IBM.

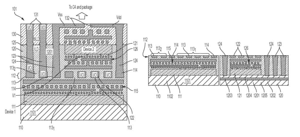
Patent 12550785 – Separated input/output (I/O) and shared power terminals for a carrier wafer with a built-in device for bonding with another device wafer.
The method bonds two wafers at the BEOL, connects terminals and vias, and builds a backside power delivery network on the bonded wafer.
Chih-Chao Yang
IBM Semiconductor BEOL.


Patent 12550785 – Separated input/output (I/O) and shared power terminals for a carrier wafer with a built-in device for bonding with another device wafer.
An IC assembly bonds two wafers at the BEOL, connects terminals and vias between devices, and builds a backside power delivery network on the bonded wafer.

Marine C Bataille
Designer at Apple.

Patent D1112216 – Keyboard.
Hiroki Harada
Senior Manager at NTT DOCOMO, Inc.


Patent 12550201 – Radio communication node.
A radio node receives resource type information from the network and establishes a link, including frequency availability when a specific resource type is indicated.
Free, private email that puts your privacy first
Proton Mail’s free plan keeps your inbox private and secure—no ads, no data mining. Built by privacy experts, it gives you real protection with no strings attached.
Parminder Singh Sethi
Innovation Mentor, System Designing, Software Principal Engineer.


Patent 12547518 – Device priority prediction using machine learning.
The system analyzes device and application data, determines performance states and application priorities, predicts device priorities, and generates a report.
Venkatesh Krishnan
Global Exterior Technical Leader at Ford Motor Company.


Patent 12546865 – Sensor assembly with cleaning.
The sensor assembly has a single-piece bracket holding a blower and a sensor, with a duct that directs airflow from the blower onto the sensor window.

Vihar C Surti
Head of Company Quality Transformation & Senior Director, I&A Engineering.

Patent 12544091 – Endoscopic resection cap with built-in oscillating dissector.
The medical device mounts on an endoscope and includes a movable arm with a cutting surface that moves in a defined plane at a set frequency.

Kyle Jonathan Doerksen
Inventor, Founder, CEO.

Patent 12545351 – Vibrational notification of motor conditions in a self-balancing electric vehicle.
The method measures a vehicle parameter and triggers a vibration pattern on the motor when a threshold is met to notify the rider
Ashok K Santra
Sr. Research Science Consultant.


Patent 12546217 – Machine-learning based rig-site on-demand drilling mud characterization, property prediction, and optimization.
Drilling mud properties are predicted from composition, sensor-based performance is estimated, and feedback is provided to update the mud formulation.
Magne H Nerheim
Vice President Research & Technical Fellow at Axon (TASER Int. Inc.)


Patent 12546572 – Distributing deployments in a conducted electrical weapon
A CEW uses a deployment list to sequentially activate deployment connections across the same or different activation events, updating the list after each activation.
Lionel Ernest Edwin
Architect at Apple | Dynamics & Controls Ph.D.


Patent 12547005 – Depth based foveated rendering for display systems.
The display system tracks eye orientation, determines a fixation point, adjusts virtual object resolution based on distance to the fixation point, and presents the objects at the adjusted resolution.
Chulwoo Oh
Optical Scientist, Tech Lead, Manager.


Patent 12547005 – Depth based foveated rendering for display systems.
The display system tracks the user’s eye orientation, identifies a 3D fixation point, adjusts virtual object resolution based on distance to the fixation point, and displays the objects accordingly.

Matthew J Velderman
Product Management Director.

Patent 12549074 – High-powered power tool system.
The power tool system has a high-power brushless motor controlled through a battery pack with at least 15 cells, delivering 54 V and 3000–5000 W output.

Violeta Cakulev
Associate Fellow at Verizon.

Patent 12550095 – Systems and methods for supporting usage limits in access and mobility management and session management functions.
The network device requests and receives a usage limit for a UE, determines a policy based on it, and enforces the policy for the UE.
Yen-Liang Lin
Project Leader of MEMS pressure sensors.


Patent 12550633 – Diffusion barrier to mitigate direct-shortage leakage in conductive bridging ram (CBRAM).
The integrated chip has stacked top and bottom electrodes with a switching layer, ion source, and a metal-nitride barrier to prevent metal diffusion during fabrication.
One Platform. Every Product.
Build courses, coaching, communities, memberships, and more. All in one place. Kajabi gives real experts a single system to launch, sell, and scale, without juggling tools or breaking momentum.
Advertisement
Transform Your Health with TruDiagnostic
Take control of your health with the most comprehensive at-home blood test available. TruDiagnostic analyzes over 185 biomarkers from a single finger prick of blood, providing personalized recommendations for the most impactful changes you can make today.
Discover your biological age, understand the pace at which you’re aging, and get a detailed action plan tailored to your body. All from the comfort of home. IDiyas readers get 20% off with code NEWSLETTERS20
Disclosure: Our free newsletter and website may include paid placements (labeled “Sponsored,” “Partnered,” or “Ad”) as well as affiliate links. If you click or make a purchase, we may earn a commission. We are not affiliated with the advertisers featured. These partnerships help us keep the newsletter free for our readers.




