
For the Inventor, By the Inventor.
One major reason AI adoption stalls? Training.
AI implementation often goes sideways due to unclear goals and a lack of a clear framework. This AI Training Checklist from You.com pinpoints common pitfalls and guides you to build a capable, confident team that can make the most out of your AI investment.
What you'll get:
Key steps for building a successful AI training program
Guidance on overcoming employee resistance and fostering adoption
A structured worksheet to monitor progress and share across your organization
🦾💯Centurion Patentors as of December 9, 2025
Tingfang Ji
Global Head of 6G Research at Qualcomm.


Patent 12494880 – Positioning reference signal processing.
A user equipment (UE) prioritizes incoming Positioning Reference Signal (PRS) groups. If the total processing load exceeds the device’s hardware capability, it selectively processes only the high-priority groups to determine location.
Krishna Kiran Mukkavilli
Sr. Director, Engineering at Qualcomm Wireless Research.


Patent 12495438 – NR-light random access response repetition.
A wireless device selects transmission slots and a preamble sequence based on a required signal repetition factor. It subsequently listens for response messages that are configured to match that same repetition level to complete the connection.
Weidong Yang
Standards Engineer at Apple.


Patent 12495435 – Inter-UE communication coordination and collision response.
The system improves direct device-to-device communication by optimizing how devices sense the environment and coordinate shared resources. Furthermore, it establishes protocols for handling data conflicts, including how devices signal collision warnings and select specific resources for recovery after a collision occurs.

Patrick Soon-Shiong
Surgeon, scientist, inventor, and philanthropist.
He serves as Chairman and Chief Executive Officer of NantWorks.

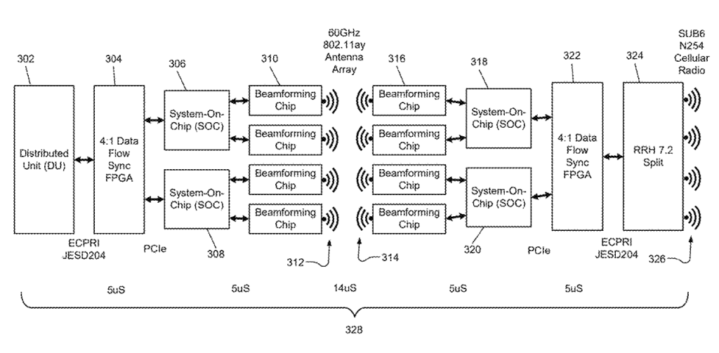
Patent 12494816 – Sixty gigahertz wireless communication systems.
The system describes a wireless fronthaul architecture connecting a Distributed Unit (DU) to a Radio Unit (RU). Instead of physical cabling, the link utilizes paired System-on-Chip (SoC) devices to transmit signals between the DU and the RU at frequencies of at least 60 GHz.
Sai-Hooi Yeong
Semiconductor Technology Director – PhD.


Patent 12495583 – Semiconductor arrangement and method of manufacture.
The method creates a fin with a gate structure, then etches the adjacent fin and substrate to form a recess. This void is filled sequentially: first with a stress-inducing material, and then with a distinct semiconductor material.
Arjan Koot
Breeding Manager at Dümmen Orange.


Patent PP37141 – plant named ‘DOCALRAIPIPEPBE25’.
The ‘Docalraipipepbe25’ cultivar acts as a vigorous, mounding plant that matures into a trailing form. It is characterized by early branching and large, distinct flowers featuring bright yellow petals with purplish-red margins.
Easy setup, easy money
Your time is better spent creating content, not managing ad campaigns. Google AdSense's automatic ad placement and optimization handles the heavy lifting for you, ensuring the highest-paying, most relevant ads appear on your site.

Prasanna Velagapudi
CTO at Agility Robotics.

Patent 12492036 – Systems and methods for providing shipping of orders in an order fulfillment center.
The design secures items during fulfillment by using a textured base to minimize movement and collapsible sides that automatically conform to the package shape when wrapped.
Chonggang Wang
Founding EiC of IEEE IoT Journal, EiC of IEEE Network Magazine, A-EiC of IEEE Transactions on Big Data.


Patent 12495099 – Service layer message templates in a communications network.
To reduce communication overhead, the system pre-loads common data structures on the server side. The client initiates these complex transactions by sending a lightweight reference ID rather than re-transmitting the entire dataset every time.
Sharad Deepak Sambhwani
Communication Systems Engineer.


Patent 12495277 – Unified operation for user equipment groups.
A local network distinguishes between “connected” nodes and “isolated” nodes. While connected nodes bridge the gap between the external network and local peers, isolated nodes communicate exclusively through direct peer-to-peer links without an external network uplink.
Todd J Mortier
Chief Operating Officer at Arcos Interventional, Inc..


Patent 12491068 – Two stage anchor and mitral valve assembly.
The disclosure outlines systems for medical interventional procedures, specifically focusing on a modular approach to mitral valve implantation and therapy.
Rod W Shampine
SLB New Energy (SNE) Technology Advisor.


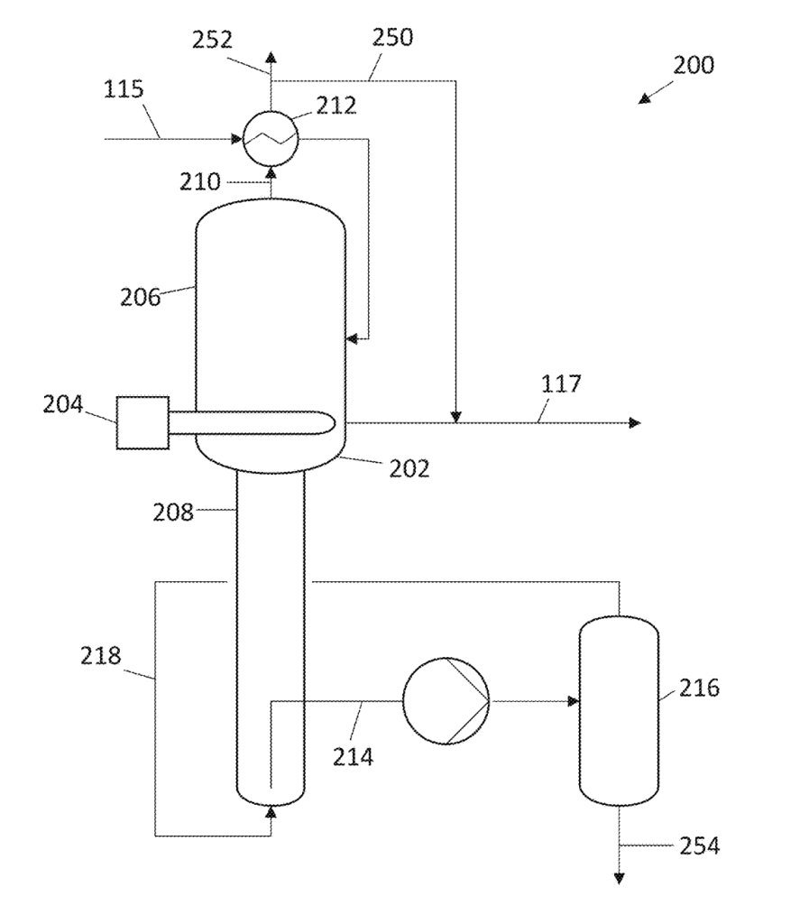
Patent 12491476 – Method of recovering lithium from a lithium source.
This process extracts target minerals from low-concentration fluids by coupling an initial extraction phase with a multi-stage filtration system. The filtration steps progressively concentrate the mineral output while recovering purified water that can be reused within the system.
Weiming Ren
Renowned expert and authority in the field of electron optics at ASML.


Patent 12493006 – Systems and methods for signal electron detection.
A PIN-based electron detector featuring a non-depleted surface layer that functions as an energy filter to selectively block unwanted signal electrons.
Nikos Kaburlasos
GPU Technology Path Finding, Power & Performance optimization at Intel Corporation.


Patent 12493922 – Graphics processing unit processing and caching improvement.
A computing architecture that utilizes an intermediate streaming buffer to pipe data directly from a media producer to an AI compute core.

Brian Lynn Price
Principal Scientist at Adobe.

Patent 12493991 – Recovering gamut color loss utilizing lightweight neural networks.
A method for hiding a trained neural network inside a standard digital image to enable future color gamut restoration.
Nicholas Anthony Lanzillo
Research Staff Member at IBM.


Patent 12494428 – Airgap spacer for power via.
Parasitic capacitance is minimized by isolating backside-connected power bars from adjacent transistor gates using airgap spacers.
The Secret to a 7-Figure Coaching Program? Kajabi!
See how Julie Ciardi scaled her coaching business to $3M by connecting her courses, community, coaching, and digital products in one seamless system. Learn how to retain, upsell, and scale.
Disclosure: Our free newsletter and website may include paid placements (labeled “Sponsored,” “Partnered,” or “Ad”) as well as affiliate links. If you click or make a purchase, we may earn a commission. We are not affiliated with the advertisers featured. These partnerships help us keep the newsletter free for our readers.




