
For the Inventor, By the Inventor.
Shoppers are adding to cart for the holidays
Over the next year, Roku predicts that 100% of the streaming audience will see ads. For growth marketers in 2026, CTV will remain an important “safe space” as AI creates widespread disruption in the search and social channels. Plus, easier access to self-serve CTV ad buying tools and targeting options will lead to a surge in locally-targeted streaming campaigns.
Read our guide to find out why growth marketers should make sure CTV is part of their 2026 media mix.
🦾💯Centurion Patentors as of December 23, 2025

Sarbajit Kumar Rakshit
Application Architect.

Patent 12506337 – Location optimization for an autonomous power generation unit.
The system picks a spot and starts working. It predicts how well it will perform in the future. If necessary, it moves to a different location to improve results.
Tahir Ghani
Intel Senior Fellow at Intel Corporation.


Patent 12506127 – Package architecture of photonic system with vertically stacked dies having planarized edges.
The device stacks electrical and optical components like layers in a cake. While the layers are flat and parallel, the electrical connection points are placed on the “wall” or edge of the bottom layer. This allows the chip to connect sideways while processing light on top.
Muhammad S K Abdelghaffar
Senior Staff System Engineer at Qualcomm.


Patent 12507275 – Techniques for transmitting discovery bursts using full duplex operations.
The device listens for a “beacon” signal from the network. This signal contains the rules for how to connect. The device follows those specific rules to check if the airwaves are clear. If they are, it sends a connection request.
H Jim Fulford
Director of Technology.


Patent 12507447 – 3D advanced transistor architecture integrated with source/drain spider design.
The device is a switch built by wrapping an atom-thin sheet around a tiny support beam. This wrapped layer acts as the bridge for electricity between two terminals. A control gate surrounds the wrapper to turn the flow on or off.
Byeongdoo Choi
Principal Research Scientist at Amazon Prime Video.


Patent 12506899 – Systems and methods for performing motion vector prediction using a derived set of motion vectors.
To predict where an object is moving in the current video frame, the system looks at how it moved in a past frame. It then adjusts (multiplies) that movement value based on the time difference between the frames to ensure the speed and direction remain consistent.
Sunil Kumar Yadav
Engineering Leader.


Patent 12505018 – Enabling predictive restoration of specialized directory service assets.
Two backup snapshots are generated at different times. The system compares them to identify changed files. A difference snapshot is created to list these changes. The user selects a specific file from this list. The system recovers only the selected file.
Six resources. One skill you'll use forever
Smart Brevity is the methodology behind Axios — designed to make every message memorable, clear, and impossible to ignore. Our free toolkit includes the checklist, workbooks, and frameworks to start using it today.

Wei Hsu
Product Experience Leader, Industrial Designer.

Patent D1106802 – Deadbolt interconnect assembly.
Jody L Seifert
Group Manager, Anterior Interbody at Globus Medical.


Patent 12502282 – Expandable fusion device and method of installation thereof.
An expandable fusion device restores spinal stability within the intervertebral disc space. It features a central ramp that pushes endplates outward to expand the structure. The device is compact enough for deployment through an endoscopic tube.
Bruno Landais
Mobile Network Standardization Expert – System Architecture and 3GPP Core Network, at Nokia.


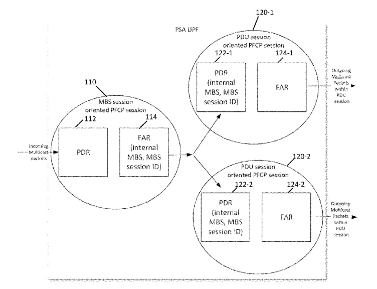
Patent 12507040 – Distributing multicast packets in individual protocol data unit (PDU) sessions.
A user plane node receives a request to process multicast packets. The node determines if it is already configured for the session. It then reports this status to the session management node.
Weng Chang
TSMC Deputy Director.


Patent 12507470 – Semiconductor device and method of fabricating the same.
A semiconductor device includes two transistors on a substrate. The first transistor uses a metal carbide gate layer. This layer contains less than 10% aluminum. This composition results in a higher work function compared to the second transistor.
AI-native CRM
“When I first opened Attio, I instantly got the feeling this was the next generation of CRM.”
— Margaret Shen, Head of GTM at Modal
Attio is the AI-native CRM for modern teams. With automatic enrichment, call intelligence, AI agents, flexible workflows and more, Attio works for any business and only takes minutes to set up.
Join industry leaders like Granola, Taskrabbit, Flatfile and more.
Disclosure: Our free newsletter and website may include paid placements (labeled “Sponsored,” “Partnered,” or “Ad”) as well as affiliate links. If you click or make a purchase, we may earn a commission. We are not affiliated with the advertisers featured. These partnerships help us keep the newsletter free for our readers.




