- Your IDiyas USPTO weekly Patent trends and update
- Posts
- 🦾💯IDiyas Centurion Patentors as of August 26, 2025
🦾💯IDiyas Centurion Patentors as of August 26, 2025
Meet the Centurion inventors, pioneers with 100+ USPTO patents each, who are setting milestones at 200, 300, 400 patents and beyond. These are the rare visionaries reshaping industries worldwide.


For the Inventor, By the Inventor.
From Italy to a Nasdaq Reservation
How do you follow record-setting success? Get stronger. Take Pacaso. Their real estate co-ownership tech set records in Paris and London in 2024. No surprise. Coldwell Banker says 40% of wealthy Americans plan to buy abroad within a year. So adding 10+ new international destinations, including three in Italy, is big. They even reserved the Nasdaq ticker PCSO.
Paid advertisement for Pacaso’s Regulation A offering. Read the offering circular at invest.pacaso.com. Reserving a ticker symbol is not a guarantee that the company will go public. Listing on the NASDAQ is subject to approvals.
🦾💯Centurion Patentors as of August 28, 2025
Table of Contents
![]() | Richard P HowarthVice President, Design at Apple. ![]() Patent D1090535 – Front cover for head-mounted display. |
Shan LiuDistinguished Scientist and General Manager. ![]() | ![]() Patent 12401828 – General constraints information for transform skip. The disclosure relates to video data processing, where processing circuitry uses syntax elements in a bitstream to control coding tools for residual coding. |
Seungmin LeePrincipal researcher at LG Electronics. ![]() | ![]() Patent 12402317 – Semiconductor devices and data storage systems including the same. A semiconductor device includes a substrate with peripheral circuits, a plate pattern with a gap, and a stack structure of gate electrodes, conductive layers, and insulating layers. A vertical memory structure passes through the stack, with source contact plugs linking conductive layers to the plate pattern. |
Yi HuangPrincipal engineer at Qualcomm. ![]() | ![]() Patent 12401482 – User equipment feedback on number of repetitions needed for decoding. In wireless communication, a user equipment (UE) that fails to decode a transport block (TB) may send a negative acknowledgement (NACK) message indicating the number of repetitions for retransmission. |
Skip the AI Learning Curve. ClickUp Brain Already Knows.
Most AI tools start from scratch every time. ClickUp Brain already knows the answers.
It has full context of all your work—docs, tasks, chats, files, and more. No uploading. No explaining. No repetitive prompting.
It's not just another AI tool. It's the first AI that actually understands your workflow because it lives where your work happens.
Join 150,000+ teams and save 1 day per week.
![]() | Christopher Patrick FossDesigner at Apple. ![]() Patent D1090573 – Display screen or portion thereof with graphical user interface. |
![]() | Ching-Yu ChangAcademician/Deputy Director, Advanced Material Center, Nano Patterning Technology Division, R&D. ![]() Patent 12400875 – Film deposition for patterning process. A photoetching process forms a patterned target layer by depositing an amorphous carbon photomask, patterning it with openings, and filling them with reverse material, with the mask serving as both template and barrier. |
Peter C SimpsonSVP of Sensor R&D and Advanced Research & Technology at Dexcom. ![]() | ![]() Patent 12396663 – Systems and methods for monitoring and managing life of a battery in an analyte sensor system worn by a user. Systems and methods are provided for analyte monitoring that include managing and extending battery life in wearable analyte sensor systems. |
Yasushi ShigetaChairman and owner of one of the world’s largest gaming industry suppliers, Angel Group. ![]() | ![]() Patent 12400517 – Fraud detection system in a casino. Detects fraud in chip collection and redemption by capturing images of a dealer’s chip tray, analyzing chip amounts, determining game results, and comparing changes before and after transactions. |
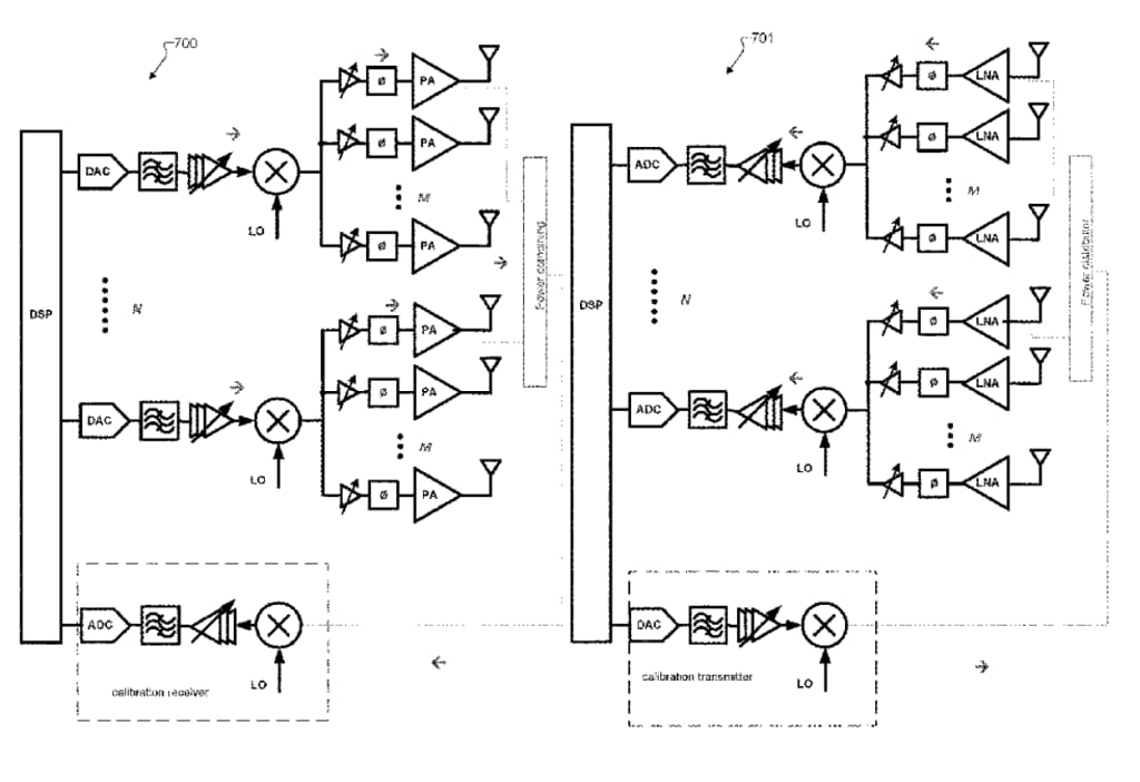
![]() | Jianzhong ZhangSVP and head of the Standards and Mobility Innovation Team at Samsung Research America, where he leads research, prototyping, and standards for 5G/6G and future multimedia networks. ![]() Patent 12401405 – Hierarchical beamforming and reciprocity calibration for hybrid MIMO systems. |
Start learning AI in 2025
Keeping up with AI is hard – we get it!
That’s why over 1M professionals read Superhuman AI to stay ahead.
Get daily AI news, tools, and tutorials
Learn new AI skills you can use at work in 3 mins a day
Become 10X more productive
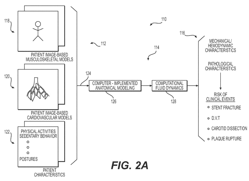
![]() | Charles Anthony Taylor, JrDr. Taylor is the W.A. “Tex” Moncrief, Jr., Chair in Computational Medicine, Professor, in the Department of Internal Medicine and the Oden Institute for Computational Engineering & Sciences & Director of the Center for Computational Medicine at the University of Texas, Austin. Dr. Taylor is also a Founder and Member of the Board of Directors of HeartFlow Inc. |
Patent 12396685 – Systems and methods for cardiovascular blood flow and musculoskeletal modeling for predicting device failure or clinical events. Assesses disease risk by modeling a patient’s vascular and musculoskeletal system, simulating activity effects, and estimating potential clinical events. | ![]() |
![]() | Horst Theuss Senior Principal at Infineon Technologies. ![]() Patent 12399153 – Photoacoustic sensors and MEMS devices. A photoacoustic sensor combines a MEMS optical emitter in a sealed cavity with a MEMS pressure detector in another sealed cavity to enable optical-to-acoustic signal detection. |
![]() | Jeremy Baker VossDirector of Product Management at Meta. ![]() Patent 12400389 – Animated expressive icon. Improves screen recording usability in a messaging system by removing client focus during recording to protect privacy and automatically pausing when focus is restored. |
Rakesh BarveApplying computer science and data science in biology. ![]() | ![]() Patent 12399932 – Apparatus and methods for visualization within a three-dimensional model using neural networks. An apparatus uses neural network encodings to match a query image with synthetic images and display its position and orientation in a 3D model. |
Sanjeev BalujaHead of Engineering, MDP and ALD Business Units, Vice President of Engineering, Principal Member of Technical Staff at Applied Materials. ![]() | ![]() Patent 12398808 – High conductance variable orifice valve. Variable orifice valves use a movable plate between two fixed plates, adjusted by an actuator ring and rotary elements. A needle on the plate engages an opening to open or seal the valve, controlling fluid flow. |
Xiang ZhangDirector at Tencent Strategy Departmet (Group level). ![]() | ![]() Patent 12401823 – Vertex prediction based on decoded neighbors. A method and apparatus use computer code to process volumetric 3D content by generating a mesh with first-layer vertices, computing displacement vectors to a denser second layer of vertices, and signaling the volumetric data based on those vectors. |
Introducing New Data Products and Enhancements
SPONSORED

Don't miss out on this modern-day gold rush - a 108 grams per tonne gold assay has just been recorded
Exploration targets already identified as a result of locals' artisanal mining
108 grams per tonne gold assay recorded in May 2025
Locals extracting gold from saprolite along a 4.5-kilometer trend
Funds raised for a 10,000 metre drill program seeking to unlock the potential for a multi-million ounce gold deposit
Positioned in the heart of the Guiana Shield, home to +80 million ounces of gold resources


































Reply