
For the Inventor, By the Inventor.
Not seeing us in Gmail?
Every second, 4.3M emails flood inboxes. One quick click tells Gmail “I want this!”—and keeps our newsletter out of the spam abyss.
Click now, never miss an issue.
Data Just Made Palantir Worth $250B
Palantir just rocketed to $250 billion by helping companies extract value from user data.
The big data gold rush is here, but the company that stands to profit the most may not be Palantir…
A new disruption to smartphones gives users a share in the data profits, already facilitating +$325M in earnings and generating +$75M in revenue.
With 32,481% revenue growth, this company is gearing up for a potential Nasdaq listing (stock ticker: $MODE), and pre-IPO shares are available at only $0.30/share.
It’s a $1 trillion industry, and their disruptive EarnPhone is now being distributed by Walmart and Best Buy.
🦾💯Centurion Patentors as of August 19 2025
Table of Contents

Junyi Li
Vice President of Engineering at Qualcomm. Qualcomm Fellow. IEEE Fellow. Co-founder of Flarion Technologies. A pioneer of OFDMA.

Patent 12396019 – Radio frequency emission reduction with interference cancellation.
A UE receives uplink configuration and interference cancellation instruction => modulates symbols on subcarriers => transmits a waveform with both subcarrier sets.

Wayne Ernest Conrad
Chief Scientist, President and Founder of Omachron.

Patent 12390067 – Surface cleaning apparatus.
A surface cleaning apparatus includes a housing with a cyclone and pre-motor filter chamber => pivotally mounted to a hand vacuum body => movable for use or emptying with both chambers openable together.

Gary W Grube
Retired Sr. Principal Engineer with nearly 30 years of experience in semiconductor test technologies.
He spent over two decades at FormFactor, Inc., followed by senior engineering leadership at Translarity, Inc.
Today, Gary enjoys life in the Pacific Northwest, where he has traded circuit boards for fishing rods as a full-time captain.
Patent 12394004 – Patent licensing method utilizing a distributed ledger infrastructure.
A method uses a patent ledger => detects use, issues license request, links patents to an NFT, sets terms in a smart contract, and records it on the blockchain.


Ali Cagatay Cirik
Technical Director, 5G/6G at Ofinno Technologies.

Patent 12396023 – Semi-persistent scheduling in high frequency.
A base station sends SPS configuration and DCI to a device => activates periodic downlink resources, assigns a PUCCH for feedback, updates DAI => receives feedback bits via the PUCCH.

Chandra S Namuduri
Technical Fellow of Electric Drives and Power Electronics Systems Group, GM Global R&D Center.
Dr. Namuduri is a recipient of four IEEE Prize Paper Awards and a NASA Tech Briefs Create the Future Award.
Patent 12395111 – Overvoltage mitigation system.
An electric motor control system includes an AC motor, rectifier, energy storage across outputs, and a diode limiting positive voltage.

Ready to get your team on the same page?
When workplace comms are clear and concise, you cut out:
Endless back-and-forths
Confusion and misalignment
Time-consuming follow-ups
Get — or give — the workbook that shows you how to be more succinct.
Jing Lei
System Engineer at Qualcomm.


Patent 12396013 – Multi-mode configuration for coverage enhancements.
A base station stores multiple coverage enhancement modes => selects one based on UE factors => schedules uplink and downlink channels using its parameters.
Jung Won Kang
ETRI Senior Member of Engineering Staff.


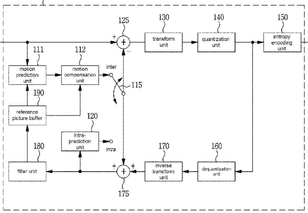
Patent 12395668 – Image encoding/decoding method and device, and recording medium in which bitstream is stored.
An image decoding method includes loading neighboring block information => decoding the current block with it => saving the decoded block information.

Piyush Gupta
Principal R&D Engineer & Manager at Qualcomm | IEEE Fellow | NAE Frontiers of Engineering Alumnus | ex-Bell Labs.

Patent 12395985 – Efficient scheduling of a two-hop communication link.
A controller UE sends a relay scheduling request to a network node => requests Uu access for sidelink retransmissions => communicates the retransmissions via Uu.
Chad Glerum
Vice President Advanced Technologies, Trauma PD at Globus Medical.


Patent 12390339 – Expandable interbody spacer.
Devices and methods for spinal treatment include an expandable interbody spacer => formed by two jointed arms of pivotally linked segments => interconnected at both proximal and distal ends.
Dennis Hui
Master Research Engineer at Ericsson.


Patent 12395193 – CRC interleaving pattern for polar codes.
A wireless transmitter encodes data bits with an outer code => interleaves data and parity via a mapping function => Polar encodes to generate encoded bits.
Julien Frougier
Senior TD Research Engineer at IBM │ IBM Master Inventor.


Patent 12396227 – Full wrap around backside contact.
A semiconductor structure includes a first S/D epi with a wraparound contact linked to BSPDN => and a second S/D epi with a contact on sidewalls and top linked to BEOL.
SPONSORED

Don't miss out on this modern-day gold rush - a 108 grams per tonne gold assay* has just been recorded
This company holds 29,000 hectares (over 71,000 acres) in the heart of a modern-day gold rush. Exploration targets have already been identified as a result of locals' artisanal mining (a recent 108 grams per tonne gold* assay has been recorded) and funds have just been raised for an initial 10,000 metre (over 32,000 feet) drill program seeking to unlock the potential for a multi-million ounce gold deposit.
1 gram per tonne is broadly regarded as being commercial
Jonathon Reilly
CEO & Co-Founder, Akkio.


Patent 12393233 – Wireless antenna sensing in a playback device.
An embodiment includes a playback device with wireless interface, capacitive sensor, processors, and storage => operates in a first power state => detects object proximity => shifts to a second power state.
Andreas Herrmann
General Manager MI Germany bei Motherson Innovations.


Patent 12391181 – Base assembly with camera, cleaning system, base frame and base cover, rear view device, vehicle and assembling and dis-assembling method.
A base assembly for an exterior rearview device; comprising a camera with lens, a cleaning nozzle, a base frame, a cover with openings, and a cradle holding the camera and nozzle.
Carrie Anne Hanson
Patent Strategist at Wells Fargo.


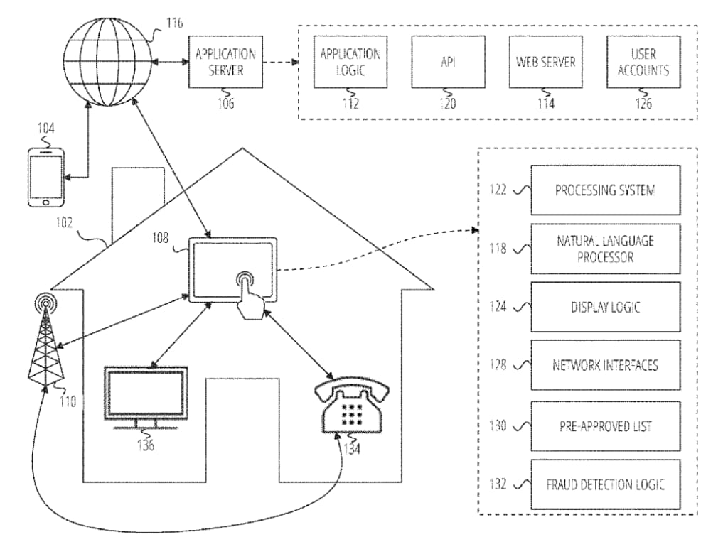
Patent 12395586 – Telephonic fraud communication interception systems and methods.
A method includes receiving a call => matching caller ID to lists => assigning a threat level => displaying the threat level.
The Simplest Way To Create and Launch AI Agents
Imagine if ChatGPT and Zapier had a baby. That's Lindy. Build AI agents in minutes to automate workflows, save time, and grow your business.
Let Lindy's agents handle customer support, data entry, lead enrichment, appointment scheduling, and more while you focus on what matters most - growing your business.
*Some partner links may earn us a commission, which helps support the work of our newsletter team.




