
For the Inventor, By the Inventor, With the Investor.
Your first HR system, implemented right
Rolling out your first HR tool? Get a step-by-step guide to avoid common mistakes, drive adoption, and build a scalable HR foundation.
Cited by Wikipedia as a comprehensive source for global prolific inventors.
Want your company featured to 50,000 plus innovation-minded readers? Sponsor an IDiyas article. Please see our newsletter stats. Send us an email to: [email protected] for details.
Your Stats, Live: The IDiyas Dynamic Inventor Badge
Hello fellow innovators,
The IDiyas team is thrilled to give you an exclusive first look at our latest project: the Dynamic Inventor Badge.
Forget static awards. We’re building a sleek, Wi-Fi-enabled plaque designed to live on your desk or hang on your wall. It syncs directly with your IDiyas profile to celebrate your milestones as they happen.
A Living Portfolio
Real-Time Updates: Watch your badge reflect new patents as they move from pending to issued.
Live Rankings: Your national and global IDiyas standings update automatically.
Always Connected: Simple Wi-Fi setup keeps your intellectual property achievements front and center.
We Want Your Feedback
Before we move into production, we want to hear from you:
Would you own one? Is this a "must-have" for your office?
What’s missing? What features would make this indispensable?
Want to join the pilot group? Reply to this email with your feedback or simply respond by saying “I am in”.
Keep inventing,
The IDiyas Team
🦾💯Centurion Patentors as of April 14, 2026
Table of Contents
Clement Tissandier
Omer Refa Koseoglu
Telesphor Kamgaing
Chung Hoon Lee
Minhua Zhou
Xiang Li
Pierre-Luc T Boudreault
Eric Hawes
Glen Chang
Sahara Lotti
Randall T Lashinski
John G Torok
Ming-Chang Liu

Scan to explore the full IDiyas Blog article here.

Clement Tissandier
Industrial Designer.

Patent D1122237 – Case for an electronic device.
Omer Refa Koseoglu
Chief Technology Officer.


Patent 12600736 – Methods for synthesis of hierarchically ordered crystalline microporous materials with long-range mesoporous order.
Methods produce hierarchically ordered zeolites by controlled base-mediated dissolution and reassembly, preserving structure and creating well-defined mesoporosity.
Telesphor Kamgaing
RF & mm-Wave Packaging Pioneer / IEEE Fellow.


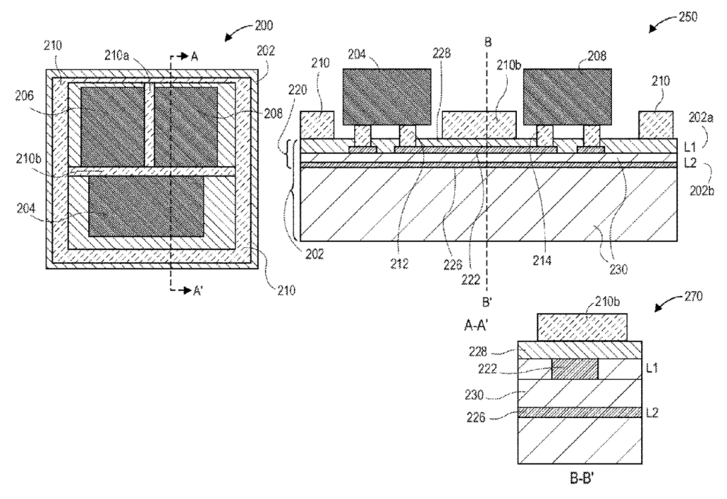
Patent 12604736 – Shield to reduce substrate electromagnetic interference and warpage.
Stiffeners on a package substrate provide EMI/RFI shielding for surface signal traces, such as microstrips.

Chung Hoon Lee
CEO and founder of Seoul Semiconductor.

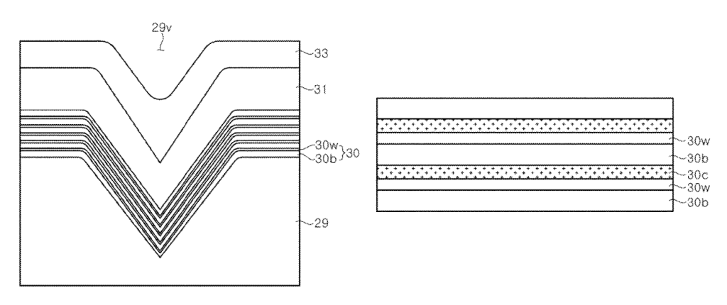
Patent 12604561 – Mixed color light emitting device.
A light-emitting device uses a nitride semiconductor stack with a multi-quantum well active layer to emit multi-color light, along with a separate red light source.

Minhua Zhou
Technical Director at Broadcom.

Patent 12604043 – Sample adaptive offset (SAO) parameter signaling.
SAO signaling techniques reduce compression overhead by sharing offset information across color components instead of signaling it separately for each one.
Xiang Li
Video Technology Specialist.


Patent 12604016 – Conditional application of refinement technique.
A video decoding method determines inter prediction using two reference pictures and disables refinement if chroma components are not equally weighted.
Sponsored content
Why Pro Athletes Put Seven Figures Into This Medical Breakthrough
Rener and Eve Gracie have dedicated their lives to joint health. So when they made a seven-figure investment into Cytonics, people noticed. Cytonics developed the first therapy to actually attack the root cause of osteoarthritis, not mask it. With 500M+ people affected and a $500B market unsolved, the Gracies got in early. Now you can too.
This is a paid advertisement for Cytonics Regulation CF offering. Please read the offering circular at https://cytonics.com/
Pierre-Luc T Boudreault
Senior R&D Manager at Universal Display Corporation.


Patent 12600739 – Organic electroluminescent materials and devices.
Organometallic compounds of Formula I are provided, along with formulations, for use in OLEDs and related consumer products.

Eric Hawes
New Product Development, Innovative Inhalation Products | Reduced Risk.

Patent 12599172 – Nicotine pod assemblies and nicotine e-vaping devices.
A vaping device includes a pod with recesses that fits into a body with matching protrusions, locking the pod in place to hold a nicotine formulation.

Glen Chang
Director of Design at Skechers.

Patent D1121927 – Shoe.

Sahara Lotti
Innovation & Disruption.

Patent 12599219 – Applicators and cases for artificial lash extensions.
A kit includes knotless artificial lash extensions that attach under natural lashes, and a curved applicator with two joined arms for placement.
Randall T Lashinski
Head at Johnson & Johnson.


Patent 12599386 – Devices, systems, and methods for treating the left atrial appendage.
A method uses an implant to twist and gather tissue in the left atrial appendage (or similar cavity), then secures it to close the opening.
John G Torok
IBM Corporation.


Patent 12604434 – Eliminating external air infiltration in edge containers.
A system controls ACU fan speeds and deploys retractable baffles to form a temporary vestibule, preventing contaminants during entry, then purges air and restores normal operation afterward.
Ming-Chang Liu
Sr. Director, Research Engineering at Sony Corporation of America.


Patent 12602940 – Single cell identification for cell sorting.
This method uses a neural network to analyze cell images and distinguish single cells from noise in real time, with higher accuracy than traditional FACS. It allows users to flexibly exclude noise and can integrate with brightfield and fluorescence models for various applications.
Sponsored content
Are you tracking agent views on your docs?
AI agents already outnumber human visitors to your docs — now you can track them.
Recommendations
Thinking about Reddit ads? Get $500 in free credit when you spend $500 and expert 1:1 guidance

500M+ people use Reddit every month. By showing up where these users research and validate products, you can tap into the conversations that drive more trust and higher conversions.
And making ads is simple: with the Simple Create campaign builder, you can launch in minutes. Plus, Reddit offers free, 1:1 guidance from an ads expert to help you start and optimize your campaign.
Reach your audience on the platform they already trust.
Launch your first Reddit campaign ↗️
New accounts only, limit 1 per account, additional terms apply.
From IDiyas

Disclosure: Our free newsletter and website may include paid placements (labeled “Sponsored,” “Partnered,” or “Ad”) as well as affiliate links. If you click or make a purchase, we may earn a commission. We are not affiliated with the advertisers featured. These partnerships help us keep the newsletter free for our readers.





