
For the Inventor. By the Inventor.
See this week's breakthrough USPTO patent grants!
Interested in sponsoring this newsletter: Learn more here
New to IDiyas? Join 39,270 intellectually curious readers Subscribe Here!
Tackle Your Credit Card Debt With 0% Interest Until Nearly 2027 AND Earn 5% Cash Back
Some credit cards can help you get out of debt faster with a 0% intro APR on balance transfers. Transfer your balance, pay it down interest-free, and save money. FinanceBuzz reviewed top cards and found the best options—one even offers 0% APR into 2027 + 5% cash back!
Table of Contents
This Week's Patent News:
Amazon and Nokia Settle Global Patent Dispute: Amazon and Nokia resolved a worldwide patent dispute concerning the alleged misuse of Nokia's streaming video technology in Amazon's Prime Video and Twitch services. The settlement includes a multi-year patent agreement, ending all litigation between the companies.
Secure Matrix LLC Sues Multiple Companies for Patent Infringement: New York-based Secure Matrix LLC filed patent infringement lawsuits against several companies, including H-E-B, Taco Cabana, and Grunt Style. The suits allege unauthorized use of a patent related to secure logins and mobile payments utilizing QR codes and push notifications.
Scilex Appeals Patent Ruling on ZTlido: Scilex Holding Company appealed a lower court decision to the U.S. Court of Appeals for the Federal Circuit. The appeal pertains to an infringement action against Aveva Drug Delivery Systems concerning patents related to Scilex's ZTlido product.
Delhi High Court Penalizes Amazon for Trademark Infringement: The Delhi High Court imposed a ₹340 crore penalty on Amazon for trademark infringement involving the "Beverly Hills Polo Club" logo. The court found that Amazon's private label, "Symbol," used a deceptively similar logo, leading to consumer confusion.
Tobacco Industry Engages in Patent Wars: The tobacco industry is witnessing intensified patent disputes, reminiscent of the technology sector's "patent wars," as companies vie to secure patents for reduced-risk products, leading to a series of legal battles.
From Industrial Foam to Cleaning Wizardry: The Magic Behind the Magic Eraser
The Accidental Invention That Transformed Households
The Magic Eraser, that modern-day sorcerer of scuffed walls and mystery stains, owes its creation not to wizards but to the unassuming genius of melamine foam. Its journey from obscure industrial material to household staple is a tale of accidental brilliance and marketing savvy. Melamine foam was initially developed in the late 20th century by BASF, the German chemical giant. The material's exceptional strength, heat resistance, and microstructure made it a darling of industrial applications, from soundproofing to insulation. But its true magic, its ability to act as microscopic sandpaper, remained largely unnoticed until a clever team at Procter & Gamble saw its potential for household cleaning.
Enter the early 2000s. Procter & Gamble discovered that melamine foams’ open-cell structure could remove stains with nothing but water. Unlike harsh chemical cleaners, the foam acted like a super-fine abrasive, lifting marks without leaving a residue. They branded it the Magic Eraser, and voilà, a household phenomenon was born. The name alone was a stroke of genius; after all, who doesn’t want to feel like a wizard while scrubbing crayon marks off the wall?
The Magic Eraser quickly earned a reputation as the ultimate cleaning hack. Its versatility is rivaled only by duct tape. What began as an industrial surplus has become a must-have for parents, landlords, and everyone.
The Magic Erasers story is a testament to the quirky pathways of innovation. Sometimes, the most magical inventions aren’t conjured. They’re uncovered, one scuffed countertop at a time.

Trivia
What is the shortest time (Grant Date minus Application Date) for a Utility patent ( after 2000)?
Please scroll to the bottom of this newsletter to find out.
The Daily Innovation Newsletter
Your 2-minute weekday newsletter delivering the latest science and technology breakthroughs you won’t find anywhere else.
Discover more by clicking here!

Featured Inventor
In the labyrinthine corridors of Bank of America, where financial strategies are meticulously crafted, one might not expect to find a figure like Manu Kurian, a man whose inventive prowess rivals that of history's most prolific creators. Since joining the bank in 2006, Kurian has quietly ascended to the ranks of the world's top patent holders. He is ranked in the Top 500 in Utility patents worldwide.

Kurian's journey into the realm of innovation began serendipitously. In 2014, he attended an internal training session on patent filing, a requirement that would become a catalyst for his inventive streak. This session ignited a passion for identifying and solving complex problems within the banking sector, particularly in the domains of mobile data and authentication technologies.
As a Senior Vice President and technology Executive, Kurian's focus has been on enhancing the efficiency and security of data management systems. His innovations have not only streamlined internal processes but have also significantly improved client experiences, embodying the bank's commitment to technological advancement. Kurian's work is characterized by a deep understanding of both the technical and human elements of banking, ensuring that his inventions are as user-friendly as they are groundbreaking.
Despite his remarkable achievements, Kurian remains a humble figure, often attributing his success to the collaborative environment at Bank of America and the support of his colleagues.
In an era where technological innovation is the linchpin of competitive advantage, Manu Kurian exemplifies how dedication, curiosity, and a commitment to problem-solving can lead to extraordinary contributions, not just to one's organization but to the broader tapestry of global technological advancement.
Today in Patent History
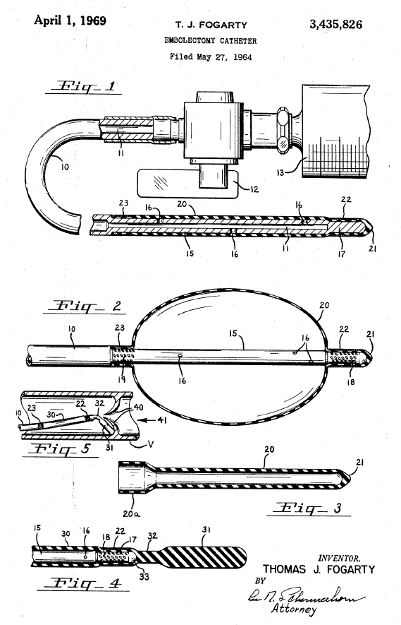
On April 1, 1969, U.S. Patent No. 3,435,826 was granted to Dr. Thomas J. Fogarty for the embolectomy catheter, widely known as the balloon catheter. This groundbreaking invention revolutionized vascular surgery by offering a safer and less invasive method for removing blood clots. Featuring a small balloon at the tip of a flexible tube, the catheter could be inserted into a blood vessel, inflated beyond the clot, and then pulled back to extract the blockage. Previously, clot removal often required high-risk open surgery. Fogarty’s design became a medical standard, saving lives and transforming cardiovascular care worldwide.

USPTO Patent No. 3435826
Introducing New Data Products and Enhancements
Our Premium members on average have 312 patents.
IDiyas is the world’s largest resource for celebrating and supporting inventors. Become a member of the IDiyas Inventor Membership Program to foster the community of innovation – locally and globally. Access millions of inventors and patents, and connect through networking and engaging events. Join today to enjoy exclusive benefits with our limited-time membership offer.

Centurion Patentors
Congratulations to last week's Centurion Patentors!
We are excited to welcome the following inventors into these prestigious patent clubs:

For more info about their research & patents, click here
Trivia
The answer is:
53 days - Patent #6306383 “Method for topical treatment of scars with protein kinase c inhibitors”.
53 days - Patent #6933478 “Joint heat”.
56 days - Patent #10767169 “Nucleic acid-guided nucleases”.

Sponsored
Carbon Finance
The #1 visual investing newsletter. Read by 40,000+ investors.

